Выключатель отключает ноль, а не фазу
Вторая частая ошибка – подключение через выключатель не
фазного проводника, а нулевого.
Одноклавишник, равно как и другие виды выключателей
света, всегда должен разрывать именно фазу. Делается это для вашей же
безопасности, чтобы при замене лампочки в патроне или ремонте люстры, вас не
ударило током.

При этом обратите внимание, что даже если вы изначально
все сделали правильно, прежде чем лезть к контактам светильника после
отключения света, всегда проверяйте отсутствие напряжения индикаторной
отверткой
Дело в том, по истечении времени, фаза с нолем могут
поменяться местами. Даже без вашего участия. Как такое возможно, спросите вы?
Элементарно. Безграмотный электрик управляющей компании при замене вашего однофазного счетчика мог перепутать провода и посадить нулевую жилу на клемму “1”, а фазную на клемму “3”. Либо случайно поменять местами провода с клемм «2» и «4».

В итоге в квартире во всех распредкоробках фаза с нолем
автоматически поменяются местами. И выключатель света, который первоначально
был подключен верно, начнет разрывать нулевой провод.
Поэтому правило “отключил – проверь отсутствие напряжения”
– залог вашей безопасности.
Выключатели света с одной клавишей
Важно! Прежде чем выполнять работы по монтажу и подключению, обязательно отключите напряжение в распределительной коробке, после этого индикаторной отвёрткой проверьте, не приходит ли ток к месту выполнения работ. Проверка индикаторной отвёрткой обязательна, так как часто в щитках используют однополюсные автоматы, которые разрывают только один провод. Если такой автомат по ошибке установили в нулевой провод, то после его выключения ток по-прежнему будет идти по проводам
Если такой автомат по ошибке установили в нулевой провод, то после его выключения ток по-прежнему будет идти по проводам
Проверка индикаторной отвёрткой обязательна, так как часто в щитках используют однополюсные автоматы, которые разрывают только один провод. Если такой автомат по ошибке установили в нулевой провод, то после его выключения ток по-прежнему будет идти по проводам.
Освещение используется в самых различных помещениях и условиях. Применяются различные типы источников света. Поэтому существуют и самые разнообразные типы элементов для коммутации. Одинарный выключатель — это самый простой тип, но разобравшись с ним, вы сможете подключать и более сложные элементы.
Если рассматривать выключатель как элемент электрической схемы, то это размыкающийся контакт, который имеет всего два разъёма для подключения. Чаще всего это винтовые соединения, то есть подключаемые провода зажимаются винтами при помощи отвёртки. Ещё могут встретиться самозажимающиеся разъёмы. Для подключения к ним нужно зачистить проводник от изоляции и вставить его до упора в соответствующее отверстие.
По способу монтажа они делятся на две группы:
- наружные;
- внутренние.
Наружный одноклавишный выключатель устанавливается непосредственно на поверхность стены, а внутренний — в специальную монтажную коробку, расположенную внутри стены.
Как лучше установить выключатель света? Здесь однозначного ответа нет, потому что у каждого способа установки свои преимущества.
Лучше, если все элементы будут установлены внутрь стены, так как в этом случае токопроводящие части будут скрыты и защищены от повреждения, что защитит вас от поражения электрическим током. Но для этого необходимо пробивать в стене пути для прокладки проводов, углубления для установки монтажных и соединительных коробок и затем заново штукатурить стены.
Все эти работы весьма трудоёмки и не требуются в случае наружного монтажа, когда все элементы крепятся к поверхности стены, а кабеля можно спрятать в специальном коробе или защитной гофрированной трубке.
Предлагаем Вашему вниманию познавательную статью об устройстве и принципе работы симистора.
Подключение бра на две лампочки
С двухрожковым бра на две лампочки, возьмите клеммник на большее количество контактов.


Если вам нужно, чтобы каждый “рожок” или лампочка включались по отдельности, тогда придется использовать выключатель на цепочке с тремя отходящими проводами.
Схема подключения здесь будет следующая:

При наличии в домашней эл.проводке третьего заземляющего проводника (обычно он желто-зеленого цвета), его подсоединяют к металлическому корпусу светильника на специально предназначенное место.

Ищите соответствующий значок на корпусе изделия.
Внимание! Если вы точно не знаете, есть ли в вашей квартире заземление или нет, в этом случае на корпус лучше ничего не цеплять и оставить этот проводник свободным
Как правильно провести монтаж
Механизм выключателя с подсветкой предполагает наличие небольшой лампы, которая светится, когда он выключен. Для подсветки устройства может использоваться небольшая неоновая лампа или светодиод вместе с элементом сопротивления. От лампы подсветки тянутся провода, которые необходимо подключить к питанию во время установки.
Подготовка к установке и обязательные меры безопасности
Без элементарных знаний по технике безопасности лучше вовсе не приступать к работе с электротехническим оборудованием. Неграмотный электромонтаж может привести к поражению током, выходу из строя электроприборов, возникновению пожара.
Основные правила поведения при работе с электричеством:
- все работы должны проводиться в обесточенной сети;
- недопустимо перегружать электросеть;
- проверить маркировку проводов на соответствие к подключаемой сети;
- поврежденный участок сети лучше заменить, а не ремонтировать;
- нельзя прикасаться к подключенному оборудованию мокрыми руками.
Определить характер проводников — где ноль, а где фаза — поможет обычная отвертка-индикатор или мультиметр. Индикатора достаточно, если электрическая сеть однофазная. Для анализа трехфазной сети используют мультиметр.

Поднеся одно из щупалецев мультиметра к фазе, другую фиксируют на любом из проводников. Выставляют диапазон для переменного тока 220 Вт. Ноль при контакте покажет значение около 220 Вт, заземление — всегда ниже
Пример монтажа 2-клавишного выключателя с подсветкой
Основные конструкционные отличия светодиодных выключателей — в механизме подсветки. Он может быть готовым к использованию и не требовать никаких действий для его подключения. В другом типе конструкции необходимо подсоединять провода, которые питают светодиодную или неоновую лампу.
Рассмотрим более сложный вариант — как подключить устройство с подсветкой, в котором проводники нужно подсоединять самостоятельно.

Особенность конструкции, в которой есть свободный доступ к проводам подсветки, может пригодиться, если понадобиться ее отключить
В первую очередь поддевают клавиши отверткой или другим подходящим инструментом и снимают их. Отделяют сердцевину (внутренний механизм) от корпуса.
Далее определяют правильность положения выключателя, используя индикатор. Для этого, с помощью касания к контактам отверткой с одной стороны и индикатором с другой, проверяют, включен или выключен прибор.
Если индикатор загорится — значит, включен. В этом состоянии поворачивают его так, чтобы клавиши нажатой стороной располагались сверху.

Чтобы обычная отвертка-индикатор сработала, нужно держать ее правильно — металлическая часть должна касаться контактной пластины, а к верхушке притрагиваться большой палец руки
Один из проводов, идущих от индикатора, подключают к входной клемме, а второй присоединяют к контакту клавиши. Если клавиш несколько, то провод подключают к первой из них, начиная слева. Одновременно с проводом, идущим от индикатора к входной клемме, подсоединяют и фазный проводник.
Два отводящих фазных провода, которые идут к люстре, подключают к выходным клеммам одновременно со вторым проводом подсветки, следя, чтобы тот не выпал из контакта.
При таком способе подключения подсветка будет включаться после размыкания контактов с помощью первой клавиши. Вторая никакого влияния не будет иметь на выключение подсветки, и лампочка будет гореть даже при включенном освещении.
Чтобы индикаторная лампочка гасла при нажатии на любую из клавиш, необходимо самостоятельно делать перемычку, которая будет соединять индикатор с обеими клавишами.
Если не брать во внимание подключение подсветки, монтаж проходит как в обычном устройстве. Через распаячную коробку на выключатель ведут фазный проводник и подсоединяют его к входной клемме L, заводя его в отверстие и прикручивая винтом. Далее к контактам устройства L1 и L2 подсоединяют два отводящих фазных провода, которые ведут к люстре также через распределительную коробку
Один из них подключают к одной лампе, другой к двум остальным. Ноль проходит через распаячный узел в монтажной коробке, далее идет на все лампы люстры, замыкая контакт
Далее к контактам устройства L1 и L2 подсоединяют два отводящих фазных провода, которые ведут к люстре также через распределительную коробку. Один из них подключают к одной лампе, другой к двум остальным. Ноль проходит через распаячный узел в монтажной коробке, далее идет на все лампы люстры, замыкая контакт.
В результате правильного подключения первая клавиша будет включать одну лампу, вторая две, а две включенные клавиши приведут к активизации всего осветительного прибора. В выключенном состоянии должен светиться светодиод (+)
Чем хороши двухклавишные выключатели
По размеру двойные модели не отличаются от одиночных. Это удобно, если возникает необходимость заменить один на другой.
Отличаются выключатели своим устройством. Рабочая часть двойного включает три контакта: один — на входе и два — на выходе. Именно исходящие контакты обеспечивают управление работой двух независимых источников света (или групп).
Входящий и выходящие контакты
Установка коммутационных устройств, имеющих 2 клавиши, имеет свои преимущества.
- При монтаже двух одноклавишных моделей необходимо тянуть кабель к каждому из них. Соответственно, их замена на одно приспособление приводит к снижению трудозатрат и экономии материалов.
- К разным клавишам можно подключать два отдельно стоящих источника света и управлять их работой из одной точки. Например, это удобно при выводе контактов от светильников в туалете и ванной, если они расположены рядом. Тем более, что в соответствии с ПУЭ размещать выключатели разрешается лишь за пределами этих помещений. Таким же образом есть возможность настроить включение разных групп точечных светильников. Они могут включаться поочередно или одновременно (нажатием обеих клавиш).
- Выключатели довольно просты, легко устанавливаются, уход за ними не составляет труда. Они долго служат без потери эксплуатационных и эстетических характеристик.
- Двойные выключатели устанавливаются в помещениях различного назначения: в квартирах и офисах, общественных учреждениях и на производстве. Имеющие влагостойкое исполнение модели могут применяться и на улице.
- Не всегда удобно, когда в люстре с несколькими лампочками они работают все одновременно. Установка устройства с двумя клавишами позволяет сделать разводку, подключив к каждой из них определенное количество источников света. Таким образом работа люстры становится более функциональной и экономится электричество, когда включать все лампы нет нужды.
Регулируемый выключатель света
К недостаткам приспособлений можно отнести возникающие проблемы с включением освещения при выходе выключателя из строя. Так как одно устройство управляет сразу двумя светильниками, в случае поломки они оба не будут работать.
Как подключить выключатель от розетки
В этом случае можно сэкономить на электропроводах. Подключение производится обычным порядком по уже описанному сценарию. Однако провода запитываются не в электрической коробке, а в розетке.
- Последнюю нужно для начала разобрать. А именно, открутив центральный болтик, снять пластиковую лицевую часть, ослабить винты, с помощью которых розетка крепится в стакане, и вытащить наружу основу.
- Далее нужно подсоединить фазовый провод к соответствующему входу розетки. Получится параллельное подключение.
- Второй конец фазового провода надо завести в соответствующий вход выключателя. Из второго контакта этого прибора выйдет провод для питания светильника. При этом ноль от освещающего аппарата также можно подвести к розетке или сразу к коробке.
Варианты подключения
Перед тем, как правильно подключить выключатель света, необходимо закрепить подрозетник на стене. Он представляет собой чашу либо площадку, на которой монтируется итоговая схема, а также клавиши и декоративная крышка. Кабель подводится обычно через углубление в стене, в некоторых случаях используется настенное расположение кабеля, но оно не так безопасно.
Этап монтажа подрозетника обычно не вызывает проблем даже у начинающих мастеров, так как основная задача – правильно развести проводку и подсоединить прибор через кабели к осветительным приборам и электрощиту. На этом же этапе необходимо установить распределительную коробку для соединения кабелей. Как правило, она размещается точно над подрозетником под потолком.
Одноклавишный прибор
Подключение выключателя света с одной клавишей является наиболее простым делом, поэтому следует начать руководство с рассмотрения именно этого случая. Ниже вы сможете ознакомиться со схемой, которая является стандартной при подключении одноклавишного устройства для управления светом.
Для того, чтобы правильно подключить устройство к электрической сети и обеспечить его стабильную и безопасную работу, следуйте приведенной ниже инструкции:
- Подведите к распаечной коробке три двойных (ноль и фаза) кабеля, один из которых идет от электрического щитка, второй от прибора управления светом, третий от патрона.
- Подключите осветительный патрон следующим образом – ноль от патрона соедините с нулем электрощита. Фазовый провод лампы (обычно белый или коричневый) подключите к нулю выключателя. Старайтесь фазу подключать к центральному контакту патрона лампы – это более безопасный вариант монтажа.
- Фазу переключателя соедините с фазой электрического щитка.
- Все сформированные соединения тщательно заизолируйте ПВХ-лентой.
- Установите клавиши и панель на платформу, как и крышку распределительной коробки.
В результате вы получите электрическую цепь, фаза в которой разъединяется посредством нажатия клавиши.
Двухклавишный прибор
Перед тем, как подключить двухклавишный выключатель света, необходимо внимательно ознакомиться со схемой соединения, так как малейшие ошибки могут привести к проблемам. Как вы можете увидеть ниже, порядок подключения мало чем отличается от приведенного выше:
Подключение выключателя света с двумя клавишами осуществляется следующим образом:
- Подключите ноль электрощита напрямую к нулевым проводам патронов для установки ламп. Старайтесь подключить ноль к боковым контактам, а фазу – к центру. При этом ноль от щита соединяется с нулем одного из патронов, и далее к соединению подключается ноль от второй лампочки (получается скрутка из трех проводов).
- Фазу электрощита подключите к общему контакту выключателя.
- Далее осуществляется подключение двухклавишного выключателя – на две лампочки выводятся фазовые провода, которые коммутируются с фазовыми проводами патронов.
- В последнюю очередь соединения изолируются, коробка и выключатель приводятся в надлежащий вид. Можно включать электричество и тестировать результат своей работы.
Как видите, разобраться в электрике можно и самостоятельно. Главное соблюдать безопасность.
Проходной прибор на 2 точки
Проходной выключатель, схема подключения на 2 точки которого представлена ниже, является особым случаем. Так, устройство на 2 точки позволяет управлять одним и тем же светильником из различных комнат, что несет в себе удобство использования и некоторые особенности монтажа.
Подключить проходное устройство не так уж и сложно. Отличие заключается в количестве контактов – у проходного механизма их три. Это диктует необходимость прокладывать кабель с тремя жилами от выключателей к распределительной коробке. Как обычно, ноль патрона лампы соединяется с нулем щитка, а вот дальше процесс соединения несколько различается.
Фаза щитка подключается к общему входу первого проходного прибора, после чего два провода от других контактов первого механизма соединяются с аналогичными проводами второго проходного устройства. Общий вход второго выключателя сопрягается с фазой осветительного прибора. На этом подключение может считаться завершенным.
Проходной прибор на 2 клавиши
Еще более сложный вариант – двухкнопочный проходной выключатель, схема подключения на 2 клавиши которого размещена ниже. Уделите немного времени, чтобы с ней разобраться.
Как видите, осветительные приборы подключаются к электрощиту по стандартной схеме, рассмотренной ранее, а фазовые провода подключаются к аналогичным у второго проходного устройства. При этом проходные устройства объединяются друг с другом посредством соединения контактов проводами через распаечную коробку.
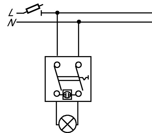
Как установить выключатель света
Установка выключателя не должна вызывать больших затруднений у специалиста. Самым простым является подключение одноклавишного выключателя.
Для этого необходимо произвести монтаж проводов согласно проекту. Схема подключения одноклавишного выключателя представляет собой светильник, электровыключатель, распределительную коробку, провода и источник энергии.
В нашем случае это электрическая сеть напряжением 220 вольт. В правильно собранной схеме на коммутационное устройство подается фаза. Что обусловлено условиями техники безопасности. На лампочку приходит нулевой провод.
Лампа может представлять люстру, состоящую из нескольких лампочек, соединенных параллельно. Все провода приходят в распределительную коробку, где соединяются согласно схеме подключения.
Для исключения короткого замыкания необходимо соблюдать правило цветового соединения проводов.
Как избавиться от «моргающих» ламп и возможные проблемы
Установка резистора в патроне Основная проблема, с которой сталкиваются владельцы выключателей с индикаторами – мерцание ламп и самого индикатора. Больше всего такое явление доставляет дискомфорт в спальнях и рабочем кабинете. Неправильная эксплуатация отрицательно сказывается на продолжительности работы самого переключателя и лампы. Избавиться от проблемы можно следующими способами:
- Отдавать предпочтение светодиодными лампам, которые совместимы с индикаторами в выключателях. Такие осветительные приборы уже оснащены плавным пуском и резистором. Подключается устройство в течение нескольких секунд, поэтому при разрядке конденсатора не мерцает. Основной недостаток заключается в высокой стоимости таких ламп.
- Избавиться от проблемы поможет параллельное подключение шунтирующего резистора. Он не оказывает непосредственного влияния на рабочий режим, но небольшой ток все равно будет проходить через резистор. Мощность его должна составлять 2 Вт, а сопротивление 50 кОм.
- Также можно подключить обыкновенную лампу накаливания с энергосберегающей разновидностью. В этом случае ток, идущий через цепь индикатора, будет проходить через нить накала. Недостаток этого способа заключается в большом объеме потребляемой электроэнергии.
- Причиной некорректной работы может быть неправильный монтаж. Например, допущенная ошибка может привести к тому, что выключатель будет отсекать ноль, а не фазу. Это может стать причиной не только некорректной работы, но и замыкания. Для решения проблемы достаточно правильно подключить выключатель или позвать электромонтажников.
Управление светом из нескольких мест: перекрестный переключатель
Проходных переключателей в схеме может быть только два. Если требуется управлять освещением из трех и более мест, то применяется схема с перекрестным (двойным проходным) переключателем:
![]()
Схема с перекрестным переключателем для включения освещения с трёх мест
Перекрестный переключатель можно сделать из двойного проходного. Для этого достаточно скрепить две клавиши вместе и соединить нужные контакты согласно схеме. Если использовать несколько перекрестных переключателей, то можно управлять освещением с нескольких мест.
На практике перекрестные переключатели используются очень редко.
Если необходимо включить освещение из нескольких мест, то можно (и лучше, и проще) использовать лестничный выключатель как рассказано в статье про подключение лестничного выключателя и бистабильного реле на СамЭлектрик.ру.
Как избавиться от «моргающих» ламп и возможные проблемы
Установка резистора в патроне
Основная проблема, с которой сталкиваются владельцы выключателей с индикаторами – мерцание ламп и самого индикатора. Больше всего такое явление доставляет дискомфорт в спальнях и рабочем кабинете. Неправильная эксплуатация отрицательно сказывается на продолжительности работы самого переключателя и лампы. Избавиться от проблемы можно следующими способами:
- Отдавать предпочтение светодиодными лампам, которые совместимы с индикаторами в выключателях. Такие осветительные приборы уже оснащены плавным пуском и резистором. Подключается устройство в течение нескольких секунд, поэтому при разрядке конденсатора не мерцает. Основной недостаток заключается в высокой стоимости таких ламп.
- Избавиться от проблемы поможет параллельное подключение шунтирующего резистора. Он не оказывает непосредственного влияния на рабочий режим, но небольшой ток все равно будет проходить через резистор. Мощность его должна составлять 2 Вт, а сопротивление 50 кОм.
- Также можно подключить обыкновенную лампу накаливания с энергосберегающей разновидностью. В этом случае ток, идущий через цепь индикатора, будет проходить через нить накала. Недостаток этого способа заключается в большом объеме потребляемой электроэнергии.
- Причиной некорректной работы может быть неправильный монтаж. Например, допущенная ошибка может привести к тому, что выключатель будет отсекать ноль, а не фазу. Это может стать причиной не только некорректной работы, но и замыкания. Для решения проблемы достаточно правильно подключить выключатель или позвать электромонтажников.
Схема подключения двухклавишного выключателя и ее особенности
Схемы подключения выключателя света с двумя клавишами – это немного сложнее, но все так же доступно для понимания даже для человека, далекого от физики. Итак, перед вами две клавиши. Левая и правая. Левая может включать и выключать лампочки, а правая может то же самое с другой группой лампочек. А если они работают вместе, то включаются и выключаются все лампочки в люстре.
Стандартные модели таких переключателей могут обслуживать осветительные приборы мощностью до 1000 Ватт. Но учтите, что в простом выключателе нет устройства защиты от короткого замыкания. Не стоит подключать к нему более мощные приборы освещения
Двойные выключатели бывают нескольких видов:
| Вид | Описание |
| Внутреннего монтажа | Для его установки придется штробить стены. Проводка укладывается в каналы и затирается штукатуркой, а сам выключатель должен быть утоплен в стену. Такие приборы выглядят аккуратно и не портят внешний вид интерьера. |
| Наружного монтажа | Установить такой прибор проще простого. Он монтируется прямо на поверхность стенки, а подводящие провода прячутся в кабель-каналы. Не очень эстетично, зато легко. |
| Защищенные от влаги | Переключатели, защищенные от повышенной влажности, очень пригодятся на кухне и в помещениях, где часто наблюдаются перепады температур и, как следствие, образование конденсата. |
| Модульные | В это понятие входят приборы со встроенной розеткой, они удобны для подключения торшера или бра, и устройства со световой индикацией. В выключенном состоянии переключатель подсвечивается светодиодом, и не нужно его долго искать в темной комнате. |
А теперь непосредственно о схеме. Современная проводка вся выполнена с заземлением, так что при работе вы столкнетесь не с двумя, а с тремя проводами. Один из них – фаза, второй – ноль, третий – заземление. Отличие одноклавишного устройства от двухклавишного всего лишь в переходниках, позволяющих подавать ток то на одно, то на второе соединение или одновременно на оба. Как и с одноклавишным вариантом следует помнить, что динамический элемент разрывает только фазу.
Схема 2х кнопочного выключателя с заземлением
Схема 2х кнопочного выключателя без заземления
Рекомендации по подключению двухкнопочного выключателя на две лампочки
Если в вашем доме установлена система TN-C, то вы столкнетесь только с двумя проводами – фазой и нулем. Как правило, они помещены в оболочки красного (фаза) и синего (ноль) цвета.
Фаза подключается к контактной точке, маркированной как L или 1 (маркировку устанавливает производитель . Группы источников света подключаются, соответственно к L1 и L2. Линия ноль тоже подключается к соответствующим контактам проводки от светильников с помощью клеммочек. Но ноль не разъединяется динамическим элементом, разъединяется только фаза.
Подключение к контактам при отсутствии заземляющей линии
Схема подключения двойных выключателей на две лампочки к TN-C системе. Если мы имеем дело с сиcтемой TN-S, имеющей три провода – фазу (красный), ноль (синий) и заземление (желто-коричневый), то следует учесть, что в переключателе есть специальный контакт для заземления и он обозначается таким значком:
Обратите внимание на подключение заземления на схеме:
Схема подсоединения выключателя к TN-S системе
Схема: как подключить люстру на двойной выключатель
Если перед вами стоит проблема, как подключить люстру к двухклавишному выключателю, не теряйтесь. Посчитайте количество проводов, сходящихся к месту расположения переключателя :
- 2 – от щитка (ноль и фаза);
- 3 – на переключатель (одна фаза на подходе и 2 – на выходе) ;
- 3 – на люстру (один на ноль и две фазы).
Итого должно получиться восемь.
Схема подключения люстры к двойному выключателю:
Эта схема для ситуации, когда у вас одна люстра с двумя группами осветительных приборов. А вот если две люстры в разных местах, например туалет и ванная комната, то из выключателя будут отходить 4 провода – на каждый светильник по нулю и фазе.
Подключение двухклавишного выключателя с розеткой, основные моменты
Как мы уже говорили, переключатели бывают модульными, объединенными с розеткой. Удобно установить такой у дивана и использовать для управления торшером и одновременного подключения ноутбука или зарядки для телефона.
Вот образец схемы подключения двухклавишного выключателя и розетки:
Вы видите, что от распределительной коробки отходит пять проводов. Ноль и заземлитель в этом случае подсоединяют к розетке. Фаза заходит сначала в розетку, а потом от нее идет перемычка в выключатель. Фаза проходит через коммутатор выключателя и распределяется на группы светильников. Ноль тоже направляют к группе светильников, но не от выключателя и розетки, а непосредственно от коробки. Скрутки в коробке защищают изолентой или используют все те же клеммы.
Особенности разводки проводов
Схема подключения выключателя в зависимости от его типа (учитывается количество клавиш) немного разнится.
Наиболее простым вариантом является подключение одноклавишного выключателя, в таком случае всё можно сделать самостоятельно. В такой ситуации, в коробке распределения, присутствует всего 2 провода – ноль и фаза.
Провод синего цвета (ноль), соединяется с таким же проводом на светильнике. Вводная фаза изначально движется к устройству для выключения света, после чего снова возвращается в коробку распределения, а уже затем соединяется с фазой от лампочки.
Основным условием подключения одноклавишного выключателя света является внимательность, поскольку даже при наличии всего двух проводов, довольно часто встречаются ситуации, когда человек путает жилы.
Подключение двухклавишного выключателя потребует больших знаний электрики, это обосновывается тем, что все группы светильников имеют отдельный разрыв цепи. Как и с одноклавишным агрегатом, в коробке распределения присутствует две жилы. Провод синего цвета ещё на входе соединяется с другими проводами аналогичного цвета.
Фаза изначально проводиться на разрыв, на обе кнопки, затем осуществляется её фиксация в заранее предусмотренной выемке. Исходящие провода идут к каждой присутствующей группе осветительных приборов или на две отдельные лампочки.
Обязательно нужно учитывать тот факт, что задняя часть корпуса содержит три отверстия: два размещены по левую сторону, и ещё один по правую. Туда где только одно отверстие подсоединяется фаза входа, а туда, где два отверстия – фаза выхода, направляющаяся к светильнику.
Фазу ввода направляют на разрыв, а после этого делят на три разных фазных проводника, каждый из которых направляется к собственной группе лампочек.
С чего начать работу?
Несмотря на то, что процесс замены выключателя не очень сложен в своем исполнении, ошибки, неправильное подключение проводов в данном процессе могут привести к очень неприятным последствиям, таким как короткое замыкание, перегорание проводки, выход из строя осветительных приборов и самое страшное, может ударить током.

Поэтому необходимо перед заменой выключателя очень внимательно изучить процесс подключения проводов и соблюдать технику безопасности при работе с электрическими приборами. Также для замены выключателя необходимо запастись необходимыми инструментами и, собственно говоря, самим выключателем.
Чтобы выбрать новый выключатель необходимо, в первую очередь, определить какой выключатель нужен по виду крепления
Здесь достаточно знать внешняя у Вас проводка или внутренняя.
Потом следует определиться с тем, что вы хотите получить от выключателя, выбрать необходимый функционал.
Необходимо выбрать принцип замыкания цепи в выключателе, будет это дорогой и модный сенсорный выключатель или обычный клавишный, с возможностью регулировать интенсивность освещенности или без такой функции, с функцией подсветки самого светильника или без нее.
Функцию подсветки стоит выбирать очень осторожно, так как при использовании диодных лампочек с этим выключателем лампочки тускло светятся в темноте.
Также необходимо определиться со способом крепления проводов, винтовой или быстрозажимной
Если у Вас алюминиевая проводка, то без вариантов, только винтовые, а вот если у Вас медная проводка, то можете попробовать современные быстрозажимные клеммы.
Также в определенных случаях необходимо обратить внимание на максимальную нагрузку выключателя и материал из которого изготовлено его основание. По максимальной нагрузке обычно бывают выключатели 10 А и 16А
Выключатель на 10 А выдерживает максимально 2,5 кВт, то есть 25 лампочек по 100 Вт
Для изготовления основания выключателя обычно используют пластмассу или керамику. Пластмасса выдерживает 16А, а керамика выдерживает 32А.
Если вы выбираете выключатель для небольшой комнаты со стандартным освещением, то эти показатели не столь важны, но если у вас комната более 100 кв. метров с мощным освещением, стоит рассчитать нагрузку и взять выключатель с основанием из керамики.
И последний показатель: влагозащита. Этот показатель маркируется буквами IP и цифрами, соответствующими степени влагозащиты. Так, для обычной комнаты подойдет выключатель с IP20, для ванной комнаты с IP44, а для улицы лучше взять выключатель с IP55.
Для замены выключателя понадобятся такие инструменты:
- Индикатор напряжения. Нужен для безопасного проведения работ. Перед началом проведения работ необходимо индикатором проверить отсутствие тока в проводах и обезопасить себя от удара током или случайного замыкания.
- Набор отверток. Отвертки необходимы для демонтажа старого выключателя и последующего монтажа нового выключателя.
- Пассатижи. Они пригодятся на случай, если провод сломается в момент демонтажа старого выключателя и его необходимо будет зачистить.
- Изолента. Может пригодиться, если изоляция провода перетерта. Не обязательно наличие изоленты при замене выключателя, но лучше держать ее под рукой на всякий случай.
- Фонарь. Понадобится в том случае, если на выключатель падает недостаточное количество солнечного света.
Самостоятельный монтаж выключателя
Сначала нужно установить выключатель. Если выключатель монтируется на деревянной поверхности, нужно установить плашку, сделанную из пластмассы или дерева. После этого установите распределительную коробку и далее соедините выключатель и провод, заведите в гофру, прикрепите к стене.
Установите на потолке колодку с двумя токопринимающими контактами. Заведите отрезок провода для лампы в гофру и подведите его к стене с выключателем. Заведите его в отдельную коробку. После этого возьмите еще один кусок провода, заключите его в гофру и подведите в основную коробку.
Подсоедините провод с лампой и патроном к колодке на потолке, намотайте концы проводов на болт. Скрутите концы проводов в первой распределительной отвертке.
Изолируйте скрутки. Выключите электричество, раскройте концы общей сети и снова включите электричество. С помощью отвертки найдите нулевую фазу и отметьте ее.
Заведите концы всех проводов в коробку, соедините их – конец одного провода соедините с нулевой фазой сети, другой – с проводом выключателя. Свободный провод выключателя соедините с рабочей жилой сети.
Скрутите концы плоскогубцами, изолируйте лентой, сверху наденьте сизы. Включите выключатель и проверьте его работу.
Подключение ламп с преобразователем
В наши дни при освещении помещений точечными потребителями возможно их подключение как в сеть с напряжением 220 В, так и через преобразователь на 12 В. Такие устройства к тому же обеспечивают задержку включения на пару секунд, после чего плавно подают нагрузку на приборы.
Эта схема как нельзя лучше подойдет при условии, что в качестве потребителей установлены лампы накаливания или галогенные, т. к. удаление скачков напряжения способствует увеличению срока службы световых приборов.
В случае использования такого преобразователя выключатель монтируется в цепь до него, и на это есть причины.
Во-первых, пониженное напряжение имеет большую силу тока, в то время как прерыватели на подобное не рассчитаны. Проще говоря, контакты выключателя или отгорят, или «залипнут». А во вторых, как уже говорилось, у преобразователя есть задержка подачи напряжения, обеспечивающая плавный розжиг лампы. И если включить прерыватель в схему после него, то ни о каком плавном пуске говорить не приходится. Электричество будет поступать резким скачком сразу после нажатия клавиши. А значит и толку от преобразователя будет не больше, чем от обычного трансформатора.
При установке двухклавишного выключателя необходимо добавление второго преобразователя, который будет запитан от второй линии. При этом, как и в предыдущих схемах подключения, нулевой провод будет общим.
Также не стоит забывать, что все подобные приборы имеют свое ограничение мощности подключаемых потребителей и увлекаться с численностью светильников при подобном монтаже не стоит.


































