Warning: Undefined array key 9 in /var/www/stekljannyj.ru/data/www/stekljannyj.ru/wp-content/plugins/fotorama/fotorama.php on line 73
Warning: Undefined array key 9 in /var/www/stekljannyj.ru/data/www/stekljannyj.ru/wp-content/plugins/fotorama/fotorama.php on line 74
Бойлер в бане зимой
Бойлер в бане зимой подвергается воздействию низких температур, которые могут вывести его из строя. Перечислим основные правила обращения с бойлером (электрическим) зимой, которые помогут сохранить его работоспособность:
- Рекомендуется приобретать модели, оснащенные дополнительной опцией подогрева бака: вода внутри не замерзнет, ее не придется сливать после принятия процедур;
- Большой объем прибора предусматривает заблаговременное включение, поэтому следует просчитать, действительно ли он необходим. Бойлер в бане зимой использует меньше горячей воды, чем аналогичный в быту;
- Рекомендуется приобретать прибор с меньшей мощностью для соблюдения лимита использования электроэнергии (например, в условиях дачи);
- Система слива жидкости из водонагревателя должна быть удобной, выходящей напрямую в канализационный сток;
- Конструкцию подключения системы с бойлером нужно сделать так, чтобы предохранительный клапан не замерзал с остатками неслитой жидкости;
- Трубы водоснабжения монтировать на поверхности стены. Внутри, скрытые панелями и теплоизоляцией, патрубки будут покрываться конденсатом, что вызовет появление плесени, грибка;
- Следует помнить, что постоянный слив жидкости из водонагревателя приводит к ускоренному износу прибора. Магниевый анод защищает внутреннюю поверхность бака, ТЭН только находясь в воде. Пустая емкость с остатками жидкости на стенках не защищена, со временем корродирует, выходит из строя.
Какие материалы используются
Бак для бани изготавливается из металла, но конкретный материал выбирается с учетом финансовых возможностей, объема и особенностей прогрева. Наибольшую популярность имеют такие конструкции:
- Чугун. Основные преимущества: высокая прочность, долговечность, при этом температура воды сохраняется длительное время после прекращения топки печи. В то же время, чугунная емкость медленно прогревается, а самое главное, имеет большую массу, что требует надежной опоры при установке конструкции.
- Сталь. Наиболее дешевый и доступный материал, используемый в экономконструкциях. Вода в стальном баке быстро нагревается, но также быстро и охлаждается после прекращения топки. Самый важный недостаток – коррозионное разрушение, что требует защитных покровов. Один из распространенных вариантов устранения этого недостатка – использование эмалированных баков. Однако при выборе данного материала следует учитывать, что при локальном повреждении эмали начинается ускоренная коррозия в очаге повреждения.
- Нержавеющая сталь. Бак на трубу для бани из нержавейки считается наиболее распространенной конструкцией, т.к. оптимально сочетает стоимость и долговечность. Материал дороже обычной стали, но не подвержен коррозии и имеет высокий срок службы. При этом нержавейка поддается сварке, а бак из неё можно сделать своими руками.
Выносная конструкция бака находится в более щадящих условиях. Экстремальная температура (400-500 градусов) воздействует только на теплообменник, располагаемый на дымоходе. Стенки самого бака не нагреваются выше 70-80 градусов, а значит, его можно изготавливать из разных материалов. Кроме того, он, как правило, размещается на стене, где уменьшается риск повреждений. В таких условиях большую популярность приобретают декорированные эмалированные емкости. Подводящие трубы для выносного бака в бане могут изготавливаться из металла, композитного материала и теплостойкого пластика
Важно обеспечить их теплоизоляцию

Выносной теплообменник для бани
Самый простой и доступный способ изготовления бака для бани – это встроенный вариант, когда он навешивается на дымоход. Такая система не зря в быту называется самоварной, т.к. в ней используется тот же принцип, т.е. разогрев воды поднимающимся по внутренней трубе горячим дымом. Такой бак монтируется при строительстве печи или устанавливается путем демонтажа участка дымохода.
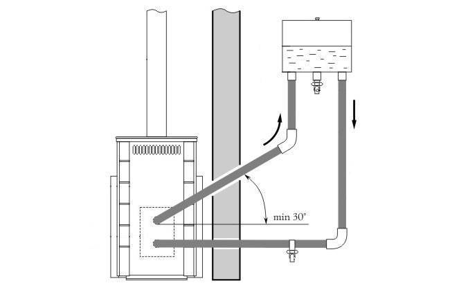
В выбранном месте на кронштейнах крепится труба, причем так, чтобы зазор между внешним диаметром дымоходной трубы и внутренним корпусом трубы бака обеспечивал необходимый объем. В нижней части корпуса бака приваривается основание, а все зазоры заделываются термостойким герметиком. Для вывода воды приваривается отвод с краном (рис.1). Верхняя часть бака закрывается крышкой.

Риунок.1 Схема установки бака для бани
В принципе, корпус бака может быть изготовлен и прямоугольной формы нужной емкости. Толщина стенок выбирается с учетом объема. Для изготовления небольшого бака объемом порядка 50-55 л можно использовать металлический лист толщиной 0,9-1,2 мм, а для емкости более 70-80 л придется использовать металл толщиной не менее 1,5 мм.
Если к бане подходит водопровод, то более подходит выносная система. Она показана на рис. 1. В этом случае на дымоходе монтируется змеевик. Выход горячей воды в направлении выносного бака осуществляется сверху, а возврат теплоносителя, соответственно, снизу. При монтаже необходимо установить нужную запорную аппаратуру (клапаны, краны, вентили).
При монтаже бака в бане на трубе дымохода потребуется следующий инструмент и оборудование: сварочный аппарат и электроды диаметром 2,5-3 мм, болгарка, ножовка по металлу, электродрель, перфоратор, молоток, плоскогубцы, набор ключей, штангенциркуль, рулетка.
Бак для бани на трубе дымохода позволяет иметь запас горячей воды без лишнего расхода топлива.
Такая система использует энергию бесполезно улетучивающего дыма, что дает значительный экономический эффект. Систему разной конструкции можно сделать и смонтировать своими руками.
Как изготовить выносной бак своими руками?
Бак для печи с теплообменником сделать несложно. Его можно сделать из отрезка трубы большого сечения или из листового материала. Единственная загвоздка – это выбор материала для изготовления. Нержавейка, это конечно хороший материал, но его цена намного превышает стоимость горячекатаной стали и жаропрочной грунтовки в несколько раз. Дополнительно придется заплатить за аренду аппарата и заправку аргона.
Поэтому разберем техпроцесс изготовления бачка из обычной стали и нанесением слоя защитной грунтовки. Делаем бак выносного типа с размерами:
- высота – 600 мм;
- ширина 500 мм;
- глубина – 250 мм.
- объем бака – 0,75 м3.
Материалы и инструменты
Для работы потребуется приготовить:
- сварочный аппарат со средствами защиты и одежды сварщика;
- болгарку с отрезными кругами. Для шлифовки поверхностей потребуется купить 1 зачистной круг;
- набор слесарного инструмента;
- дрель и набор сверел;
- надежные дюбеля для крепления бачка на стену;
- 2 запорных и 1 водоразборный кран, диаметром ¾ дюйма и 3 патрубка для вваривания в бак;
- 2 петельки для крепления крышки и ручка для нее;
- растворитель, жаростойкая грунтовка, кисть.
Из листа, толщиной 3 мм болгаркой вырезаем заготовки:
- дно – 500/250 мм;
- крышка – 500/250 мм;
- боковинки – 250/600 мм;
- перед и задняя часть – 494/600 мм.
Пошаговая инструкция
Для сборки потребуется ответственно и внимательно отнестись ко всем работам, но особенно к сварке. Конструкция должна получиться герметичной, поэтому спешить не нужно, потребуется выполнить 2 шва. Для сборки выполняем работу в следующей последовательности:
- На донышко, заподлицо устанавливаем боковинки и прихватываем в нескольких местах.
- Стыкуем с боковинами и дном переднюю и заднюю часть емкости. Они вставляются между боковинками и прихватываются к ним и ко дну.
- Нельзя допускать перекосов и щелей, поэтому брак при резке болгаркой деталей придется стачивать. Проверяем правильность сборки коробки, у нас лицевая и задняя части должны быть утоплены и выставлены заподлицо с боковыми деталями. Проверяем диагональ коробки вверху, устраняем перекосы.
- После этого можно приступать к обварке коробки с наружной стороны. Не рекомендуем выставлять большой ток и торопиться. Только соблюдая все рекомендации по силе току, указанные на упаковке с электродами можно добиться качества шва.
- После прохождения первого, корневого шва, оббиваем шлак и накладываем 2 шов.
- На крышку привариваем петельки, устанавливаем ее и варим петли на корпусе емкости. Теперь можно прихватить ручку.
- Размечаем и сверлим на тыльной стороне 2 отверстия под саморезы крепления.
- В донышке, в удобном месте сваркой прожигаем отверстие под патрубок водоразборного крана и обвариваем его в нижнем положении. На расстоянии от верха и низа на боковинке прожигаем отверстия для установки патрубков подачи горячей воды и оттока охлажденной в теплообменник. Привариваем трубки.
- Зачищаем болгаркой швы и заусеницы, в труднодоступных местах лучше использовать напильник.
- Заполняем бак водой и проверяем качество швов. При свищах и даже небольших запотеваниях шва, эти места повторно проваривают, предварительно слив воду. Эту операцию потребуется проводить до полного устранения мест протекания швов.
- Обезжириваем поверхности и после высыхания растворителя наносим слой жаропрочной грунтовки с внутренней и наружной стороны.
-
После высыхания краски можно прикрутить краны и переходить к монтажу выносного бака для бани в помывочной.
Готовый бак
Рекомендации по монтажу и подключению выносного бака к теплообменнику
Нагретая в теплообменнике жидкость самотеком должна поступать в резервуар. Оттуда ее можно расходовать на гигиенические процедуры, после чего в бак заново заливается холодная вода, уходящая по трубопроводу в теплообменник для подогрева.
Подключение бака для воды
Теплообменник оснащен патрубками для подключения контура. Резьба на их концах облегчает монтажные работы.
Таблица. Что понадобится для подключения?
| Наименование инструментов и материалов | Иллюстрация |
|---|---|
| Болгарка | |
| Перфоратор | |
| Шуруповерт | |
| Разводной ключ | |
| Уровень | |
| Гофрированная труба | |
| Муфты | |
| Саморезы | |
| Лен | |
| Сантехническая паста | |
| Шаровые краны | |
| Тройник |
Цены на сантехническую пасту
сантехническая паста
Шаг 1. Проводятся замеры точек выхода трубопровода, после чего высверливаются отверстия под трубы горячей и холодной воды.
Сверлятся отверстия
Сделать это не всегда просто, учитывая толщину стен.
Отверстие под трубу
Шаг 2. Подвешивается выносной бак из нержавеющей стали. Для этого нужно закрутить два самореза.
Вкручиваются саморезы
Все замеры необходимо делать с использованием уровня.
Используется строительный уровень
Бак фиксируется при помощи настенного крепления.
Фиксация бака для воды
Шаг 3. Соединения труб и патрубков необходимо герметизировать. Для этого можно использовать нить Tangit Uni-Lock или герметик. Если этих материалов нет, рекомендуется воспользоваться сантехнической пастой и льном, купить которые проблем не составляет. Паста наносится на резьбу, после чего наматывается волокно (его необходимо аккуратно расправлять).
Наматывается волокно
Такое соединение отличается надежностью. После этого можно завинчивать гайки, воспользовавшись разводным ключом.
Закручиваются гайки
Нужно отметить, что некачественно выполненная герметизация приведет к протечкам воды. То же самое необходимо сделать на теплообменнике.
Важно качественно выполнить герметизацию
Шаг 4. Подключение трубопровода. Соединение теплообменника осуществляется посредством гибкой нержавеющей гофрированной трубы. Подогнать ее по размеру можно при помощи болгарки.
Для подключения используется гибкая гофрированная труба
Второй конец горячей магистрали соединяется с патрубком (верхним) теплообменника.
Второй конец горячей магистрали
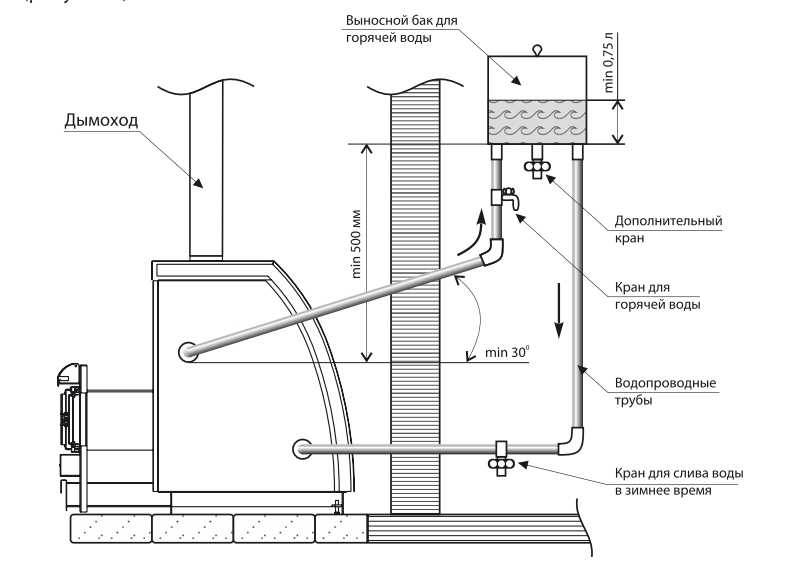
Внизу контура необходимо предусмотреть колено и установить шаровый кран для слива воды перед наступлением зимы (ни в трубах, ни в теплообменнике, ни в баке жидкости в холодном помещении оставаться не должно). Этот кран должен быть расположен в самой нижней точке.
Шаровый кран
Также монтируется выход горячей воды (подводится к крану).
Слив горячей воды из бака
В результате получилась такая конструкция.
Такая конструкция получилась в итоге
Теплообменник выглядит следующим образом: к верхнему патрубку подведена труба для отвода горячей жидкости, к нижнему – для подачи холодной воды из бака.
Подключение горячей и холодной воды
Шаг 6. Осталось наполнить бак и провести пробный запуск системы.
Голосование пользователей
Какой циркуляционный насос вы выберете или посоветуете?
Вихрь ЦН-25-6
60.00
%
(
3
)
Сохраните результаты голосования, чтобы не забыть!
Чтобы увидеть результаты, вам необходимо проголосовать
Голосование пользователей
Какой бак для воды вы выберете или посоветуете?
Горизонталь
28.57
%
(
4
)
Сохраните результаты голосования, чтобы не забыть!
Чтобы увидеть результаты, вам необходимо проголосовать
Металлические
Поскольку вода горячая, металл остаётся лучшим материалом для баков. Помимо металла применяют также древесину и пластик. Использовать эти материалы можно лишь при условии, что они не контактируют с предметами, нагретыми свыше 90 градусов. В основном же нагрев воды в бане обеспечивается именно металлическими баками.
Вот основные виды таких баков:
- Устанавливаемые на дымоход;
- Подвесные (форм-фактор настенного бойлера);
- Встраиваемые в банную печь;
- Встраиваемые в газовые и другие котлы;
- Выносные для монтажа на плоской поверхности, напольные и настольные, а также подвесные.
Выбор конкретного варианта проводится по внутренним условиям каждой бани. Учитывается мощность источника тепла, его тип (печь или газовый котел), а также необходимое количество горячей воды.
Еще одна особенность — как именно будет использоваться горячая вода в бане. Будет ли это простой кран с горячей водой или душевые, для которых требуется напор. Каждый вариант мы рассмотрим подробнее.
По металлическим бакам получается несколько вариантов их исполнения:
- Стальные с оцинкованием, покрашенные термостойкой краской (не распространены);
- Стальные эмалированные (основной тип баков для бань, бойлеров, кухонных нагревателей);
- Стальные толстостенные оцинкованные без краски (разработаны по примеру оцинкованных ведер и посуды);
- Чугунные литые эмалированные (очень надежные, но встречаются редко);
- Нержавеющие (самый лучший тип баков).
По стоимости самые доступные — эмалированные баки. Они выпускаются массово. Их специально делают для нагрева горячей воды. За небольшие деньги можно найти варианты любой емкости и конфигурации.
Особенности
Современное обливное ведро для бани мало чем отличается от предшествующих моделей, которыми активно пользовались наши деды, прадеды, когда изъявляли желание укрепить здоровье. По существу – это несложное устройство называется «перевертыш». В целях повышения комфорта ведра изготавливали и продолжают изготавливать с веревкой, цепочкой. Устанавливается такое приспособление в основном в специально отведенном месте для обливания – в моечной, рядом с парной. Почему столь примечательное устройство находится во многих деревенских банях, если в непосредственной близости нет озера, речки или пруда? Полезное занятие – обливание холодной водой заключает в себе массу преимуществ для души и тела:
- укрепляется иммунная система;
- ускоряются функции кровообращения;
- цвет кожи улучшается;
- кожные покровы становятся упругими, эластичными;
- из организма выходят токсины;
- активируются процессы омоложения.

Простая, на первый взгляд, процедура дает поразительный эффект. Помимо вышеперечисленных плюсов, человек на продолжительный период получает заряд бодрости, энергии, хорошее настроение. Основные преимущества устройства для обливания холодной водой:
- простое изготовление за минимальное количество времени;
- использование без помощи прочих вспомогательных средств;
- выделение минимального количества свободных квадратных метров;
- экономия финансов (для обливания не нужно строить душевую кабину, бассейн, купель).

Несложную конструкцию можно установить в любом месте бани, где доступно организовать подачу воды, а также сделать отвод грязных стоков в канализационный канал. Обливное устройство состоит из трех ключевых элементов:
- классическое ведро с обручами;
- система вращения;
- деревянные кронштейны.
Механизм в сборе, прикрепленный к стене, представляет собой П-образную конструкцию, посередине которой, выше центра тяжести, на оси расположено ведро со свисающей металлической цепочкой и ручкой на конце. В определенный момент ведро наполняется чистой, холодной водой. Человек встает под ведром-перевертышем, тянет на себя цепь и обливается.
Большинство народных умельцев, любителей полезной процедуры совершенствуют конструкцию, добиваются, чтобы после завершения обливания вода в автоматическом режиме снова поступала в пустое ведро. Улучшить простое приспособление несложно.
Способы устройства естественной вентиляции
Плотный и тяжелый холодный воздух всегда опускается вниз, а нагретый вытесняется им и поднимается вверх. Так возникают движущиеся воздушные потоки в помещениях с любым обогревательным прибором. Но без притока свежего воздуха он не обновляется, а просто перемещается.
Если в нижней части стены сделать отверстие, через него будет поступать воздух с улицы, если его температура там ниже, чем в помещении. А через отверстие наверху он будет вытягиваться. Это и есть естественная вентиляция.
Схема движения воздушных масс в обогреваемом помещенииИсточник e-derslik.edu.az
Этот элементарный закон физики и используют, когда задумываются о том, как сделать вентиляцию в бане своими руками без использования каких бы то ни было механизмов. Как правило, естественной вентиляции без принудительного забора воздуха для небольшой бани вполне хватает. В отличие от жилых помещений, в которых летом бывает так же жарко, как на улице, температура в бане всегда выше.
Но в ней необходимо поддерживать комфортную для приема процедур температуру, причем так, чтобы не образовывались сквозняки, и не было резкого перепада от жары на полке до холода на полу. Для этого воздушные потоки должны двигаться по определенной траектории, которую задают посредством размещения приточных и вытяжных отверстий в конкретных местах.
Вентиляция через дымоход
Проще всего решить проблему, как сделать вентиляцию в парилке, если в ней расположена топка печи с поддувалом. Оно послужит для вывода отработанного воздуха через дымоход, в котором во время горения топлива возникает тяга. Но работать эта схема будет только при условии притока воздуха извне.
Приоткрытая дверь в парнуюИсточник prodverivdome.ru
Приток можно обеспечить такими способами:
- время от времени слегка приоткрывать дверь в парилку;
- сделать в двери небольшую щель 1 см или оставить такой же зазор между дверью и полом;
- если сруб бани не обшит, такую щель можно оставить между первыми венцами, находящимися ниже уровня пола, при условии, что доски не уложены плотно;
- сделать специальный проем в стене напротив печи на высоте 20-30 см от пола.
В любом из этих случаев холодный поток, проникающий в помещение, двигается к источнику тепла и вытесняет вверх уже нагретый им воздух. Он при движении прогревает все помещение, постепенно остывая и опускаясь вниз. Здесь он втягивается в поддувало и выводится через дымоход на улицу.
Схема движения воздухаИсточник i.ibb.co
Этот способ как сделать вентиляцию в парной не самый надежный и эффективный, так как большая часть свежего воздуха сразу втягивается в печь. Поэтому ещё во время строительства бани желательно продумать другие варианты с устройством продухов в стенах.
Вентиляция через продухи
Чтобы воздухообмен не зависел от работы печи, для притока и вывода воздуха в стенах устраивают специальные отверстия. Она гарантированно будет работать при соблюдении следующих условий:
- вытяжное отверстие размещают под потолком бани – там, где скапливается разогретый воздух;
- приточное отверстие должно располагаться невысоко над полом на противоположной стене, чем ближе к печи, тем лучше, чтобы втягиваемые холодные потоки не били по ногам;
- оптимальное расстояние по вертикали между продухами должно составлять 150-200 см;
- сечение вытяжного отверстия должно быть больше.
Холодный воздух сразу попадает в зону нагреваИсточник ventilation-conditioning.ru
Идеальное расположение приточного продуха – за печью. Поступая в помещение, он сразу начинает греться, вытесняя уже горячую воздушную массу вверх и в сторону вытяжки. Поэтому в парной не образуется холодных потоков и уровней с заметно разной температурой.
Если вы хотите знать, как правильно сделать вентиляцию в бане и парилке, предусмотрите эту схему ещё на этапе проектирования и до установки печи
Также важно обязательно сделать перепад по высоте между вентиляционными отверстиями. Если они будут находиться примерно на одном уровне, это приведет к возникновению сквозняка и быстрому проходу свежего воздуха по прямой, без циркуляции в помещении
Вытяжка естественной вентиляцииИсточник stroyfora.ru
Чтобы иметь возможность регулировать проветривание или ограничивать доступ в парилку слишком морозного воздуха, нужно предусмотреть крышки или задвижки для продухов.
Преимущества естественной вентиляции заключаются в том, что она работает без использования устройств, которым необходимо питание от сети и которые могут ломаться. Её монтаж и эксплуатация не требуют больших затрат.
Как установить?
Работы ведутся в несколько этапов:
- Необходимо выбрать место для монтажа. Не рекомендуется навешивать бак с горячей водой непосредственно на деревянную поверхность стены. Сначала потребуется закрепить слой теплоизоляции. Можно наклеить лист пенопласта и поверх его, разметив места крепления саморезов, просверлить отверстия меньшим сверлом.
-
Закрепляем емкость и приступаем к разметке и сверловке отверстий для подвода труб от теплообменника. Потребуется большое сверло, но сверлить лучше в несколько проходов, начиная с маленького размера, постепенно доведя отверстие до необходимого диаметра.
-
Соединяем трубы с кранами. Труба подводки горячей воды должна подходить от верхнего патрубка теплообменника, а трубопровод охлажденной воды должен располагаться снизу. Можно использовать металлопластиковые трубы, хотя специалисты рекомендуют устанавливать подводку из медной трубы, но она очень дорогая.
После всех этих операций можно выполнить пробный запуск системы нагрева воды, но первый кипяток лучше не использовать для помывки. А уж затем собирайте всех родных и друзей и отправляйтесь в парную наслаждаться горячим паром в парилке и горячей водой в вашей помывочной или душевой.
Как рассчитать площадь теплообменника
Нередки случаи, когда домашние умельцы берутся за изготовление подобного устройства своими руками. Для этого им следует научиться вычислять необходимые параметры, касающиеся обеспечения банного помещения достаточным количеством тепла и объемом горячей воды для помывки.




При расчете габаритов аппарата допускаются округления. Так, при установке системы обогрева мощностью 5 кВт вам понадобится устройство, полезная площадь которого определена в 1 м². Такой пример довольно приблизительный, поскольку прибор с подобными параметрами будет также обеспечен теплом при участии печки с мощностью 9 кВт. При этом все же лучше рассчитывать величину площади, оставляя некоторый запас. Во время охлаждения агрегата мощность значительно снижается, а запас позволяет поддерживать температуру в помещении до очередной растопки печи.


При выборе теплообменника последнее, на что стоит обращать внимание, – это форма устройства. К этому параметру не предъявляется особых требований, потому можно смело полагаться на свою фантазию


Зачастую теплообменники, как и система труб, изготавливаются из нержавеющей стали. Это довольно долговечный и эффективный при эксплуатации материал. Единственный минус состоит в возникновении некоторых сложностей при выполнении сварочных работ.







































