Разновидности ручных насосов
От конструктивных особенностей разных моделей ручной помпы зависят ее эксплуатационные возможности.
- Крыльчатый – это прибор, функционирующий по принципу самовсасывания. Конструкция данных агрегатов включает в себя следующие элементы: всасывающий узел, вал, рычаг для приложения усилий, крыло, клапаны. От повреждений механизм защищен корпусом.
Работают такие устройства очень просто: при давлении на рычаг крыло вращается и заставляет заработать всасывающий узел. Данные изделия применяются для выкачки чистой жидкости без примесей и нерастворимых твердых частиц, а также без нефтепродуктов, масел и химически активных веществ.

- Штанговый. Преимуществом приборов данного типа является возможность подъема жидкости с глубины до 30 метров. Изделия похожи на поршневую модель, однако различаются формой поршня – его окончание у штангового варианта вытянуто.
Такая конструкция позволяет использовать устройство в вертикальных прямых шахтах, но при этом износостойкость агрегата снижается – возникает вероятность обрыва вытянутой штанги. Качество изделий зависит от материала изготовления узлов конструкции.

Перед тем как купить механический прибор со штангой нужно учесть, что он достаточно громоздкий и не может устанавливаться на поверхностях с уклоном. Используются такие агрегаты в прямых вертикальных шахтах большой глубины. Цилиндр создает в камере мощное разрежение, в результате вакуум создает условия для интенсивного всасывания жидкости.
- Поршневой. Его особенность – создание в процессе работы определенного давления на выходе. Конструкция состоит из поршня, который двигается внутри цилиндра. Иногда используется для подачи воды к системе насосов, которые не могут функционировать по принципу самовсасывания.
Технические характеристики поршневых изделий не позволяют применять их для глубоких артезианских скважин, но они могут поднимать на поверхность подземные воды из менее глубоких источников – до 18 метров.
Принцип работы устройств данного типа: при опускании рычага поршень двигается вверх, в камере создается вакуум, благодаря чему жидкость поднимается через открывающийся дисковый клапан.

При движении рычага вверх поршень перемещается вниз и закрывает донный клапан, не позволяя воде циркулировать в обратном направлении. Она движется в часть цилиндра, которая располагается над поршнем. При повторном опускании рычага вниз порция воды выходит наружу через патрубок. Так происходит ее откачка.
- Мембранный. Обладает оригинальной конструкцией – клапаны выполнен в виде перекатывающихся шаров. В процессе работы они самостоятельно очищаются, поэтому мембранные приборы можно применять для выкачки и транспортировки жидкости с примесями. Нерастворимые включения не повредят технику. Часто используются как осушительный механизм для подвалов.

- Шиберный. Может перекачивать как чистую воду, так и смазывающие жидкости, такие как масло. Часто применяются для перекачки жидкости из небольших резервуаров – бочек, канистр.

Стоит отметить, что вне зависимости от размера, массы, глубины подъема, разновидности механизма, все скважинные насосы ручного типа обладают примерно одинаковой производительностью. За полный цикл работы выкачивается около 1 литра жидкости.
Это значительно меньше, чем способны перекачивать электрические приборы. Однако выбор механического устройства более рационален при небольших потребностях в воде, а также в случае отсутствия электроснабжения.
Как правильно выбрать ручной насос для воды
Выбирая водяные насосы для дачи и частного дома или изготавливая ручной насос для воды самостоятельно, следует ориентироваться на ряд параметров как самого устройства, так и источника, из которого будет откачиваться жидкая среда. К таким параметрам, в частности, относятся:
- глубина залегания водоносного слоя (от нее зависит напор, который должен обеспечить ручной насос для воды из скважины);
- диаметр обсадной трубы в скважине, если планируется установка насосного оборудования штангового типа;
- производительность оборудования;
- степень загрязненности жидкой среды, оказывающая влияние на то, какого типа ручной насос для воды из скважины можно использовать;
- эргономичность устройства.
Что касается срока службы ручных насосов, то здесь очевидно, что наиболее долговечным будет насос из нержавеющей стали
Оценив все вышеперечисленные параметры, можно определиться, какое ручное насосное устройство вам подойдет больше: садовая колонка для воды поршневого типа, насос штанговый, мембранный или крыльчатый.
Как сделать ручной насос
Чтобы сделать ручной насос для скважины своими руками, необходимо приготовить такие инструменты и приспособления, как:
- сварочный аппарат;
- электрическая дрель;
- набор сверл;
- токарный станок;
- шабер;
- измерительные устройства — рулетка, линейка;
- технический нож;
- напильник;
- молоток;
- отвертка;
- ветошь.
Корпус для ручного поршневого насоса можно сделать из фрагмента металлической трубы необходимого размера. Можно использовать для этого также корпус гидроцилиндра или гильзу дизельного двигателя.
Необходимые габариты корпуса:
- диаметр 8 и более см;
- длина от 60 до 80 см.

Для изготовления корпуса может понадобиться токарный станок. Обработанная с его помощью труба из толстого металла получится гладкой и аккуратной. Это необходимо для свободного движения поршня.
Снаружи корпус устройства может быть круглым, квадратным или многоугольным, что зависит от выбранной заготовки. Внутренняя поверхность цилиндра насоса должна быть абсолютно гладкая. Для этого производится специальная обработка шабером. Сбоку в корпусе в верхней его части необходимо сделать отверстие. К нему приваривается выводной патрубок. При изготовлении цилиндра насоса на его верхней части можно нарезать резьбу для крепления верхней крышки.
На противоположной от выводного сливного патрубка стороне трубы или цилиндра делается прорезь с отверстиями, в которую впоследствии будет вставляться шпилька, на которую устанавливается штанга — ручка.
Поршень ручного насоса можно изготовить из подручных материалов. Можно использовать нержавеющий металл, древесину или пластическую массу. При этом поршень должен двигаться внутри цилиндра насоса плавно и равномерно, без заеданий и перекосов. Кольцевидный уплотнитель из резины сделать обязательно.
Поршень нужно вставить в корпус и проверить, легко ли он двигается. Случайные дефекты необходимо устранить заранее. После этого можно скрепить поршень со штоком — стержнем, закрепленным в центре поршня. Для этого используется резьба и запирающая шпилька.
Крышка для ручного насоса может быть сделана из пластмассы или металла. Деревянную крышку лучше сделать из дуба или лиственницы. Она должна точно повторять форму отверстия и плотно закрывать его. Для дополнительной герметизации можно прикрепить уплотнитель.
Верхняя крышка должна иметь в центре отверстие для штока. Нижняя крышка оснащается запирающим клапаном, препятствующим вытеканию воды из цилиндра насоса.
Изготовлению обратного (запирающего) клапана следует уделить особое внимание
Это очень важно для нормального функционирования ручного насоса. Запирающий клапан предотвращает перетекание воды вниз к вводной трубе. Поэтому он должен быть изготовлен из достаточно прочного материала
Другой важный момент — тщательная притирка. Такой клапан не допустит просачивания воды в обратном направлении
Поэтому он должен быть изготовлен из достаточно прочного материала. Другой важный момент — тщательная притирка. Такой клапан не допустит просачивания воды в обратном направлении
Запирающий клапан предотвращает перетекание воды вниз к вводной трубе. Поэтому он должен быть изготовлен из достаточно прочного материала. Другой важный момент — тщательная притирка. Такой клапан не допустит просачивания воды в обратном направлении.
Мембранный клапан можно изготовить из куска резины повышенной прочности. Его устанавливают поверх входного отверстия. Для крепления используется клепка или винтово-гаечное соединение.
Шариковый запор лучше изготовить из пластмассы или металла. При наличии соответствующих навыков можно изготовить шариковый эбонитовый клапан.
Длина штока и выходного патрубка подбирается в зависимости от длины трубы насоса и глубины погружения насоса в скважину. К штоку через шарнир крепится ручка. Для этого на коротком плече штанги необходимо вставить болт через заранее просверленное отверстие.
Штанговый рычаг имеет на конце резьбу для крепления ручки насоса. С обратной стороны она крепится гайкой и стопорной шпилькой. Далее необходимо укрепить пружину на коротком конце ручки и на корпусе насоса. Это делается при помощи винта. Пружина будет обеспечивать подъем ручки, то есть возвращение ее в исходную позицию.
Вводная труба может быть сделана из такого материала, как:
- жесткая резина;
- металл;
- пластмасса.
Резиновый шланг обязательно армируется пружиной из нержавеющей стали. После изготовления и до его установки самодельный насос требуется проверить на воду. То есть необходимо временно закрепить его на монтажном столе или верстаке, опустить вводной шланг в емкость с водой и проверить качество работы соединений и узлов.
Правила эксплуатации самодельного ручного насоса
Для того чтобы изготовленный своими руками прибор прослужил как можно больше времени, следует придерживаться определенных рекомендаций по его применению. При использовании агрегата необходимо:
- внимательно следить за глубиной погружения шланга и уровнем перекачиваемой воды. Если вода в скважине постепенно заканчивается, то входной шланг ручного насоса потребуется регулярно погружать вглубь жидкости. В противном случае детали прибора будут поддаваться повышенному трению, и быстрее выйдут из строя;
- регулярно извлекать ручной насос из воды, разбирать и тщательно очищать его от мусора и песка. Это улучшит качество воды и поможет избежать ускоренного износа основных элементов агрегата;

- 1 раз в 1–2 месяца полностью менять герметик, который наноситься на швы между корпусом и крышками ручного насоса. Таким образом, вы предотвратите просачивание воды из него обратно в скважину;
- 1 раз в 2–3 месяца менять обратные клапаны. При регулярной работе эти детали разрушаются, особенно, если в конструкции прибора используются металлические клапаны, которые постоянно поддаются воздействию коррозии;
- регулярно проверять целостность шлангов, которые поддаются сильному износу в тех случаях, если для перекачки используется загрязненная вода.
Постоянно придерживаясь этих простых правил, вы существенно увеличите сроки применения самодельного ручного насоса, и он не выйдет из строя в самое неподходящее время.
Типы ручных насосов
Для облегчения подъема воды из колодца используются насосы.Они бывают механическими и ручными, последние могут быть:
- Штанговые.
- Поршневые.
- Глубинные.
Хотя большой ассортимент помп и насосов для воды оттеснили ручные агрегаты на второй план, но их желательно иметь на каждом приусадебном участке. К тому же устройство несложно изготовить и самостоятельно.
Ручной насос штанговый

Схема штангового ручного насоса
На фото конструкция ручного штангового насоса включает в себя:
- Цилиндр насоса, позиция 1.
- Колонну водопроводных труб – 2.
- Комплект штанг – 3.
- Поршень – 8.
- Ручной привод, состоящий из штока поз. 6 и балансирующего элемента — 7.
- Специальным хомутом поз. 4 на конце обсадных труб крепятся водопроводные трубы. По колонне этих элементов насосный цилиндр идет в глубину колодца.
- Сальник насоса поз. 5 необходимо закрепить вверху водоподъемных труб.
- При опускании насосного цилиндра на требуемую глубину, на штангах поршень опускается так, чтобы до нижнего клапана цилиндра он не доходил примерно 60 миллиметров.
- Верхняя часть штанги крепится к штоку, проходящему через сальник, и соединяется шарниром с балансирующим элементом.
- В поршне поз. 8 в его середине выполняется проточка, куда устанавливается клапан поз. 9.
- Внешняя поверхность поршня закрывается уплотнительной манжетой из кожи или резины.
- При перемещении поршня вниз закрывается клапан поз. 10, а клапан поз. 9 открывается, и вода поступает в полость над данным поршнем.
- При перемещении поршня вверх поднимается за ним и вода, и в полость под поршнем будет идти вода из колодца, из-за разряжения воздуха. При этом всасывающий клапан открыт, а в закрытом состоянии находится поршневой клапан.
- По такому принципу выкачивается вода из скважины или колодца.
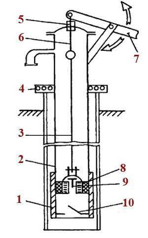
Ручной поршневой насос

Конструкция ручного поршневого насоса
Поршневые насосы для колодцев ручные применяются при залегании грунтовых вод до 8 метров. От уровня земли, в верхней части труб для подъема воды, их устанавливают на расстоянии от 70 до 100 сантиметров.Конструкция состоит из:
- Цилиндра, поз. 6.
- Поршня, поз. 7.
- В нем перемещается клапан поз. 8.
- Дисковый клапан поз. 5 устанавливается на дне цилиндра.
- Резервуар, поз. 10.
- Шток, поз. 9.
- Балансир, поз. 11.
- Обратный клапан, поз. 4.
Принцип работы устройства заключается в следующем:
- При перемещении поршня вниз закрывается дисковый клапан.
- Вода поступает в свободную полость из-под поршня сквозь открытый поршневой клапан.
- При перемещении поршня вверх закрывается поршневой клапан, а в резервуар поднимается вода.
- Под поршнем при этом создается разрежение воздуха, дисковый клапан открывается, а вода поступает в свободную полость под поршнем.
- Возвратно-поступательное движение создает в устройстве шток, шарнирно соединенный с балансирующим элементом.
- Откачивание воды из колодца происходит через обратный клапан. Он служит для совместной работы электронасоса и поршневого насоса.
- Такой цикл повторяется постоянно.
Глубинный ручной насос
Отличительной особенностью от предыдущего типа является:
- Шток, приводит поршень в движение. Он пропускается через выпускную трубу, установленную на верхней крышке.
- Шток и выпускная труба могут иметь большую длину и погружаться от уровня воды до 1,5 метров. Размер штока в отдельных случаях может достигать более 30 метров.
- Материалом для изготовления составляющих погружного насоса берутся дюралевые трубы, что уменьшает вес самой конструкции, имеющей повышенную прочность.
- Насос крепится над колодцем или скважиной, а с помощью простейшего рычага шток приводится в движение.
Изготовление ручного насоса
Собрать ручной насос своими руками из подручных средств – задача посильная для каждого мужчины. Главное — четко следовать указанной инструкции:
- Изготавливаем корпус. Для корпуса самодельного насоса вам понадобится металлический цилиндр – это может быть кусок старой трубы либо ненужная гильза от дизельного двигателя. Длина отрезка должна быть порядка 60-80 см, а диаметр – свыше 8 см. Для обеспечения качественной работы будущего оборудования, необходимо проточить внутреннюю поверхность трубы на станке. Избавив металл от неровности, вы облегчите усилия, которые потребуются для перекачки воды.
- Вырезаем крышку. Для ее изготовления можно использовать металл или пластик. В крышке следует обязательно сделать отверстие под шток. Когда конструкция готова, внутрь помещается поршень. После этого, дно закрывается точно такой же крышкой с клапаном. Сбоку приваривается труба для подачи воды.
- Установка поршня. Поршень может быть создан из дерева, пластика или металла, главное правило – он должен быть уплотнен резиновым кольцом. При установке этого конструкционного элемента необходимо оставить минимальный зазор между стенками корпуса, тогда вода не будет просачиваться.
- Подсоединение входной трубы к скважине. Входная труба, подающая внутрь устройства воду, должна быть прочной и выносливой. Чтобы обеспечить эти характеристики, подберите армированные шланги, жесткие пластиковые элементы или стальные трубы.
Элементы для создания ручного насоса своими руками
- Монтаж клапанов. Обратные клапаны – это специальные отверстия, которые созданы в корпусе поршня и нижней крышке металлического цилиндра. Именно они определяют производительность всей системы. Клапаны не дают возможности жидкости вернуться обратно во входящую трубу. Для их создания можно использовать толстую резину, которая фиксируется на отверстии с помощью склёпок.
- Декоративные работы. Самодельный ручной насос должен иметь удобную ручку. Ее форма может быть любой, главное – надежно прикрепить элемент к штоку. Кроме того, сам насос необходимо зафиксировать на подготовленной площадке, используя фланец.
Виды насосов ручного действия
Для добычи воды своими руками конструкторы мира разработали несколько типов ручных насосов, которые несколько различаются по принципу действия. Но при этом цель у таких механизмов одна — подъем воды из недр земли на поверхность при наличии обустроенной скважины или колодца.
Видео шиберный ручной насос для скважины
Ручные насосы бывают такими:
- Поршневые устройства;
- Штанговые механизмы;
- Крыльчатые помпы;
- Мембранные агрегаты.
Поршневой насос

Самый древний из ручных устройств для добычи воды. Принцип перекачки воды из скважины в таком механизме построен на поршне и цилиндре, которые встроены друг в друга. При этом поступление и подъем воды на поверхность осуществляются при помощи двух клапанов, каждый из которых поочередно закрывается и открывается под воздействием внешней силы на рукоять помпы. В результате вода из скважины поступает в резервуар колбы и подается уже оттуда на поверхность. За одно нажатие на рычаг ручной насос поршневого типа перекачивает до 2-3 литров воды.
Штанговая помпа

Этот вид насоса для добычи воды своими руками отличается большей производительностью. В частности штанговые ручные насосы могут забирать воду с глубины до 30 метров, что позволяет использовать такой агрегат как на простой колодец, так и на скважину на песок.
Конструкция такого устройства практически повторяет поршневой насос для воды с той лишь разницей, что поршень у штангового механизма более вытянутый и длинный, имеющий вид и форму штанги. Именно отсюда и пошло название насоса.
Минусами штангового ручного насоса для добычи воды своими руками можно считать его громоздкость и риск обрыва штанги.
Крыльчатый насос

Этот ручной агрегат в своей конструкции имеет рабочие крылья, вал, клапаны и всасывающий элемент. Все это встроено в прочный цилиндрический корпус, а приводится в действие при помощи рычага. Под воздействием физической силы (надавливание на рычаг) крыльчатая часть насоса начинает своё вращение и всасывает воду, подавая её на поверхность под давлением.

| Параметр | Обозначение | Значение | Ед. измерения |
| Номинальная подача за один двойной ход крыльчатки | Q | 0,4 | литр |
| Номинальный напор | H | 20,00 | м |
| Предельное давление насоса | P | 0,3 (3,0) | МПа (кгс/см2) |
| Усилие на рукоятке при давлении насоса 0,2 МПа (2 кгс/см2) на плече 360 мм, не более | 50 (5) | Н (кгс) | |
| Допустимая вакууметрическая высота всасывания | hа | 7,00 | м |
| Условный проход подсоединяемого трубопровода | Ду | 25 | мм |
| Масса насоса | m | 7,2 | кг |
| Длина рукоятки, не более | l | 360 | мм |
Мембранный (диафрагменный) ручной насос

Такой агрегат является самым долговечным среди своих собратьев благодаря специально разработанной конструкции, в которой полностью исключено трение внутренних деталей друг о друга. Рабочими узлами мембранного насоса для добычи воды своими руками являются клапаны и мембрана, выполненные из специальной бензостойкой резины. При этом мембранный насос способен перекачивать не только чистую воду из скважины, но и жидкость с включениями песка, глины, ила. Засорение клапанов исключено благодаря функции самоочищения за счет перекатывающихся в механизме шаров.
Корпус мембранного насоса выполняют из прочного чугуна и оснащают двумя наружными ушами для более удобного и быстрого монтажа помпы.
Сливаем воду через скважинный адаптер
Это решение для освобождения трубопроводов от воды и защит от промерзания достаточно трудоемкое. Оно предполагает рассоединение адаптера, подъем насоса вместе с водоподъемной колонной на небольшую высоту. После слива воды действия выполняются в обратном порядке.
Подробнее про обустройство скважины на воду со скважинным адаптером тут
Это решение обычно применяют при подготовке скважины к зиме. В экстренных случаях его можно использовать и при использовании скважины в зимний период.
Обустроить с адаптером
Консультация специалиста
Консультации специалистов
Дальше речь пойдет о решениях, которые вряд ли можно считать удачными, но которые все же встречаются.
Установка ручного водяного насоса для скважин и колодцев

Сложностей в монтаже ручного водяного насоса возникнуть не должно, процедура проста и особых навыков не требует.
Для установки насосной станции ручного типа требуется выполнить следующий алгоритм действий:
- Проверить комплектацию, все прилагаемые детали должны быть на месте.
- Корпус насоса устанавливается в вертикальном положении таким образом, чтобы нижняя часть была погружена в воду.
- Если в прилагаемом руководстве по эксплуатации написано, что устройство не предназначено для перекачки воды с высоким содержанием твердых примесей, нужно дополнительно установить очищающие фильтры.
- Конструкцию нужно закрепить к поверхности земли таким образом, чтобы она стояла крепко и устойчиво.
- Прокачать насос, чтобы внутренняя часть промылась большим количеством чистой воды.
Обогрев на водоподъемную колонну
Подобное решение пришлось встретить только однажды. Один из клиентов организовал обогрев трубы от летнего крана на всем ее протяжении с помощью термокабеля. Минусы решения очевидны:
- Система работает пока есть электричество. При отключении электроэнергии получаем размершиеся трубы.
- Постоянное потребление электроэнергии, а следовательно и затраты.
Рекомендовать такое решение своим клиентам и реализовывать его однозначно наши специалисты не станут. Оно приведено скорее как пример неудачного подхода к решению задачи.
Хочу другой вариант
Обсудить с экспертом
Консультации специалистов
Классификация ручных насосов
Ручные насосы для выкачки воды из абиссинкой или любой другой скважины, выполняют одну функцию, но имеют две разновидности. Одни более простые, другие достаточно сложные, но подходящие под более сложные условия.
Поршневые насосы ручного типа
Чтобы понимать принцип действия поршневого насоса, нужно понять как он устроен. Давайте взглянем на картинку, чтобы разобраться есть ли возможность сделать ручной насос для воды своими силами или пойти в магазин:

Ручной поршневой насос можно собрать своими руками
При использование поршневых насосов – глубина скважины до зеркала воды должна составлять не более 10 метров.
Теперь давайте разберём что происходит внутри насоса в момент откачки воды из абиссинской скважины. Нужно взять в руки металлическое коромысло и делать им движения вверх, в низ. Таким образом при движение поршня вниз клапан выпускает излишки воздуха, а при поднятии вверх образует вакуум, который вытягивает воду из скважины на поверхность. Конечно же после появления струи воды из ручного насоса, нужно продолжать качать, иначе водичка перестанет течь.

Как работает поршневой насос
Штанговые насосы ручного типа
Если на вашем участке земли водоносный слой проходит на уровне от 10 до 30 метров. То для перекачки воды из скважины вам понадобиться глубинный штанговый насос. Давайте рассмотрим конструкцию данного агрегата, чтобы понять, сделать штанговую помпу своими руками или приобрести в магазине.
Водяной насос для скважины следует устанавливать на обсадную трубу 100 миллиметров, а производительность сей агрегата равна 40 литрам в час.
Правила эксплуатации самодельного ручного насоса
Для того чтобы изготовленный своими руками прибор прослужил как можно больше времени, следует придерживаться определенных рекомендаций по его применению. При использовании агрегата необходимо:
- внимательно следить за глубиной погружения шланга и уровнем перекачиваемой воды. Если вода в скважине постепенно заканчивается, то входной шланг ручного насоса потребуется регулярно погружать вглубь жидкости. В противном случае детали прибора будут поддаваться повышенному трению, и быстрее выйдут из строя;
- регулярно извлекать ручной насос из воды, разбирать и тщательно очищать его от мусора и песка. Это улучшит качество воды и поможет избежать ускоренного износа основных элементов агрегата;

- 1 раз в 1–2 месяца полностью менять герметик, который наноситься на швы между корпусом и крышками ручного насоса. Таким образом, вы предотвратите просачивание воды из него обратно в скважину;
- 1 раз в 2–3 месяца менять обратные клапаны. При регулярной работе эти детали разрушаются, особенно, если в конструкции прибора используются металлические клапаны, которые постоянно поддаются воздействию коррозии;
- регулярно проверять целостность шлангов, которые поддаются сильному износу в тех случаях, если для перекачки используется загрязненная вода.
Постоянно придерживаясь этих простых правил, вы существенно увеличите сроки применения самодельного ручного насоса, и он не выйдет из строя в самое неподходящее время.
Преимущества ручного насоса для воды

Ручной насос для колодца или скважины является прародителем более современных электронасосов. Но при этом достаточно производительным.
К основным преимуществам таких устройств можно отнести:
- Добычу воды своими руками в тех местах участков, где по каким-либо причинам затруднен монтаж сложного электрического оборудования или в том случае, если вода необходима периодически (по сезону);
- Экономия электроэнергии, поскольку ручная помпа — это исключительно механический насос, работающий от физического усилия пользователя;
- Демократичная стоимость устройства. Однако этот же параметр делает невыгодным продажу ручных насосов для самого продавца. Поэтому ассортимент подобных агрегатов невелик на российском рынке. В основном представлены устройства от датского производителя «Грундфос», от немецких и российских компаний.
Выбор скважинного насоса
Выбор насоса для скважины производится по комплексу показателей. Существуют научные методики расчета, но можно провести и укрупненный расчет.
Основными показателями в работе подбираемого насоса являются:
- Напор (создаваемое давление), м. водного столба;
- Производительность, м3/час.
Напорная характеристика складывается из нескольких составляющих суммы:
- Высота (глубина) скважины до нулевой отметки ввода в здание;
- Сопротивление горизонтального участка трубопроводов;
- Высота до верхней водоразборной точки;
- Минимальный напор в сети дома;
- Запас мощности – от 5 до 10 %.
Причем расчет следует вести, не принимая в учет наличие гидроаккумулятора на станции. Он предназначен для уменьшения частоты пусков и сглаживания пульсаций. Рекомендуется приобрести и установить отдельный гидроаккумулятор большего объема. Применение этого устройства обязательно для любого типа насосного оборудования.
Рассмотрим частный случай – скважина имеет глубину 20 метров, горизонтальный участок – длину 8 метров, верхняя точка водоразбора (смеситель) размещен на высоте 2 метра. Минимальный напор для работы бытового оборудования (стиральной машины, посудомоечного агрегата и т.д.) составляет величину от 1 до 1,5 кгс/см2 (по паспорту изделия), то есть от 10 до 15 метров водного столба.
Сопротивление горизонтального участка составит 8 х 0,3 = 2,4 метра. Итоговый напор составляет:
(20 + 2,4 + 2 + 15) х 1,1 = 43,34 метра (где 1,1 – поправочный коэффициент запаса мощности).
Далее определяется вторая величина – производительность. Она определяется по среднему значению водопотребления на одного человека в сутки – 200 литров. Для семьи из 4 человек необходимый объем воды составит 0,8 м3/сутки.
Постоянный период водопотребления составляет примерно 12 часов. Необходимая производительность насоса составит 800 л / 12 часов = 66,7 = 70 литров в час. Для учета пиковых нагрузок следует применить поправочный коэффициент 1,25. Тогда итоговая величина составит 70 х 1,25 = 87,5 = 90 литров в час (2,16 м3/сутки).
Расчетная величина производительности не должна превышать суточный лимит скважины по воде. Превышение может вызвать засорение скважины, повреждения каналов в ее основании.
Последний этап выбора насоса – подбор по диаграмме «расход – напор». Эта диаграмма присутствует в паспорте каждого насоса. По осям напора и расхода (производительности) отмечаем рассчитанные величины.
Пересечение точек на кривой диаграммы будет реальными показателями работы агрегата при расчетных условиях. Точка пересечения должна располагаться в средней части (средней трети) графика.
Выбор насоса для скважины – важное мероприятие. Знание типов оборудования и методика расчета позволяет подобрать необходимый насос для скважины без труда
К выбору насоса можно привлечь специалистов в магазине – как правило, опытные менеджеры владеют методикой подбора. При этом можно сверить свои расчеты – доверяй, но проверяй.
(Просмотров 706 , 1 сегодня)
Рекомендуем прочитать:
Виды радиаторов отопления
Правильная укладка водяного теплого пола
Инфракрасные электрические обогреватели
Типы котлов отопления
Расчет мощности котла отопления
Коллекторная разводка труб водоснабжения
Установка и запуск насоса для скважины
Чтобы правильно подключить систему водоснабжения и выполнить ввод воды, необходимо грамотно установить насосное оборудование:
- подсоединить обратный клапан к перекачивающему агрегату;
- установить обжимную муфту;
- произвести соединение с трубопроводом;
- зафиксировать троса для погружения в источник водоснабжения;
- зафиксировать на тросе трубы и питающий кабель;
- опустить перекачивающий агрегат в скважину;
- зафиксировать трос в оголовке обсадной трубы.
На заключительном этапе выполняется проверка работы перекачивающего агрегата. Сборку автоматики нужно производить по прилагаемой производителем инструкции.






































