Как присоединить к электричеству
Поскольку устройство мощное, то целесообразно вести для него отдельную линию или подключаться к кабелю, идущему на электроплиту.

Подключение производится так:
- при ведении от щитка фаза и ноль присоединяются на УЗО двухконтактного типа с разрывом фазы и ноля;
- фаза ведется на автомат, а затем на точку потребления.

Непосредственно присоединение прибора может производиться вилкой, имеющей заземление на обычную розетку, путем монтажа пластины контактного назначения или присоединением к электрическим входам устройства.

Для моделей до 7 кВт требуется медный кабель 3,5 мм, а для более мощных устройств – с сечением 4 мм. Автоматику выбирают по наибольшему току, а УЗО – на ступень выше с током утечки в размере 10 мА.

Производители
Выделяют три наиболее популярных производителя:
- Фирма Surpetto. Если случаются перебои в централизованной поставке горячей воды, то на помощь приходит китайский водонагреватель Supertto. Он привлекает покупателей своим внешним видом. Корпус выполнен из стойкого термопластика, который не подвергается ударам. Монтаж оборудование не занимает много времени. Во включенном состоянии нагреватель способен пропускать 1,3 литра воды, нагретой до температуры +50ºС. Максимальная температура воды достигается за 2 минуты.
- Фирма Акватерм. Это известный отечественный производитель, который отличается оригинальным дизайном и высокой функциональностью. Прибор может иметь разные цвета, форму корпуса, длину излива, а также снабжаться электронным устройством, предназначенным для регулировки температуры воды. Благодаря этому он вписывается в любой интерьер кухни и ванной. При мощности 3 кВт устройство нагревает воду до +60ºС. Работает водонагреватель от стандартной электросети, с напряжением 220 В.
- Фирма Delimano. Данные приборы являются плодом сотрудничества Италии и Германии, однако выпуск продукции осуществляется в Китае. По своим техническим характеристикам он ничем не отличается от нагревателей фирмы Акватерм. Водонагреватель используется на дачах, загородных домах, квартирах при отсутствии горячего водоснабжения. Температура воды регулируется с помощью рычага, который находится с боку устройства.
Подключение нагрева на одну точку
Для времянки на отдельную точку подойдут популярные модели типа Electrolux Smartfix, Ariston Aures или Atmor Basic на 3,5-5,5кВт.
Популярны они прежде всего простотой установки. Весь монтаж выполняется буквально за 20-30 минут.
Для монтажа потребуются:
провод ПВС (в розетку) или кабель ВВГнг-Ls 3*4мм2 (до щитка)
шурупы+дюбеля
Ошибка №1
Кто-то вообще колхозит и вешает все на проволоку – что является грубой ошибкой, скажем об этом чуть позже.
гибкая подводка
Заводскую пластиковую (от гибкости там только название) лучше сразу же заменить на металлическую гофру.
Первым делом раскручиваете шурупы и снимаете крышку корпуса прибора.
Находите внутри три клеммы:
фаза – L
ноль – N
земля
Подключаете сюда зачищенный конец провода ПВС. Коричневый или белый – фаза, синий – ноль, желто-зеленый – земля.
Если перепутаете фазу и ноль, в принципе ничего критичного. Вы же не проверяете каждый раз какой стороной вставляете вилку в розетку.
На второй конец провода устанавливаете евровилку.
Ошибка №2
Не вздумайте использовать модели без заземляющего контакта!
Данная розетка должна быть защищена дифф.автоматом, либо сборкой УЗО+автомат. Ток утечки 10мА, как на стиралку.
Ошибка №3
Подключать розетку только через модульный автоматический выключатель нельзя!
Номинальный ток УЗО+автомата или диффавтомата не должен превышать 16А.
Вдруг ваш ребенок захочет без вас более горячей водички и самостоятельно включит устройство на максимум – 5,5кВт. Стандартная розетка на такую нагрузку не рассчитана.
Основные характеристики электрических проточных водонагревателей
Покупая новый нагреватель, необходимо тщательно изучить технические характеристики выбранной модели, способ крепления и управления. Этого необходимо для того, чтобы вы смогли установить этот агрегат, и он соответствовал вашим желаниям
На что именно нужно обратить внимание при покупке:
Устройство проточного водонагревателя
Мощность. Проточный водонагреватель потребляет много электроэнергии, для него необходима отдельная электропроводка, а он сам обязательно должен быть заземлен. Маломощные нагреватели работают от стандартной сети 220 В, а вот более мощные (от 12 кВт) нужно подключать к трехфазной сети в 380В.
Внимание! Если заявленная мощность устройства больше 5 Вт, то оно может не подойти для установки в квартире. Обратите внимание на вид проточного водонагревателя, они бывают напорные и безнапорные. Если агрегат напорный, то это значит что он работает за счет давления
Если агрегат напорный, то это значит что он работает за счет давления
Обратите внимание на вид проточного водонагревателя, они бывают напорные и безнапорные. Если агрегат напорный, то это значит что он работает за счет давления
Его обязательно нужно устанавливать в стояке подъезда или коттеджа
Перед приобретением водного нагревателя, узнайте какое максимальное давление воды подается в дом. Необходимо чтобы оно было от 0,6 до 16 атмосфер. Если давление нестабильное или чересчур сильное, выбирайте модели, которые имеют предохранительный клапан, в нужный момент отключающий водонагреватель. Если давление воды слишком маленькое, специалисты советуют приобретать накопительный нагреватель, чтобы избежать перегорания агрегата. Нередко в описании можно увидеть слово «класс защиты». Это словосочетание означает качество корпуса вашего агрегата. Аббревиатура IP – означает стандарт защиты электротехники от пагубного влияния окружающей среды, а последующие числа обозначают защиту от повреждения твердыми предметами (первая цифра) и воды (вторая цифра). Пример: IP 25, говорит о том, что корпус нагревателя защищен от прикосновения пальцами и водяных брызг
Его обязательно нужно устанавливать в стояке подъезда или коттеджа. Перед приобретением водного нагревателя, узнайте какое максимальное давление воды подается в дом. Необходимо чтобы оно было от 0,6 до 16 атмосфер. Если давление нестабильное или чересчур сильное, выбирайте модели, которые имеют предохранительный клапан, в нужный момент отключающий водонагреватель. Если давление воды слишком маленькое, специалисты советуют приобретать накопительный нагреватель, чтобы избежать перегорания агрегата. Нередко в описании можно увидеть слово «класс защиты». Это словосочетание означает качество корпуса вашего агрегата. Аббревиатура IP – означает стандарт защиты электротехники от пагубного влияния окружающей среды, а последующие числа обозначают защиту от повреждения твердыми предметами (первая цифра) и воды (вторая цифра). Пример: IP 25, говорит о том, что корпус нагревателя защищен от прикосновения пальцами и водяных брызг.
Схема подключения проточного водонагревателя
Обязательно проверьте, каким способом монтируется водонагреватель. Установка может быть вертикального или горизонтального типа, а также смешанной, т.е устанавливаться обоими способами
Также обратите внимание на тип подводки воды. Если агрегат устанавливают над краном, тогда необходимо выбрать нижний метод подводки, а если под умывальником – подводка верхнего типа
В первом случае патрубки направлены вниз, во втором – вверх
Убедитесь, что в выбранном устройстве есть режим перегрева от воды. Он защищает ТЭН от чрезмерного накаливания, вовремя отключая его. Это защитит вас от неожиданных возгораний. Некоторые модели нагревателей, работают в комбинированном режиме. Например, если нужно малое количество воды, их используют как накопительный агрегат, если большой расход – как проточный. Это позволяет экономить электричество
В первом случае патрубки направлены вниз, во втором – вверх. Убедитесь, что в выбранном устройстве есть режим перегрева от воды. Он защищает ТЭН от чрезмерного накаливания, вовремя отключая его. Это защитит вас от неожиданных возгораний. Некоторые модели нагревателей, работают в комбинированном режиме. Например, если нужно малое количество воды, их используют как накопительный агрегат, если большой расход – как проточный. Это позволяет экономить электричество.
Как установить
Установка не представляет никакой сложности:
- Внимательно осмотрите устройство. Убедитесь, что провод имеет вилку для вашей розетки. Бывает, что китайские или американские нагреватели идут с вилками, не подходящими для европейского формата.
- Изучите инструкцию, идущую в комплекте с водонагревателем.
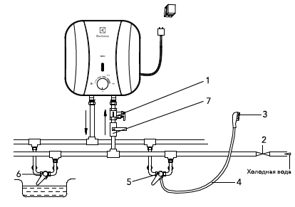
- Снизу смесителя расположена труба с резьбой. К ней подается холодная вода через обычный гибкий шланг с гайкой на конце. Такие же используются для подключения унитазов.
- Вставьте нагреватель в отверстие мойки для смесителей и закрепите, имеющейся в комплекте пластмассовой гайкой. Для удобства монтажа, сначала установите гибкий шланг, просунув его снизу через отверстие мойки.
- Подключите воду и проверьте все соединения на герметичность. Если она нарушена соберите все снова с использованием фумленты на резьбовых соединениях.
Далее, можно подключать электричество и пользоваться.
Это важно: в целях безопасности электрическая розетка, используемая для проточного водонагревателя должна соединяться напрямую к отдельному автомату в щитке. Смотрите видео, в котором пользователь на конкретном примере демонстрирует устройство, особенности подключения и возможности электрического проточного водонагревателя на кран:
Смотрите видео, в котором пользователь на конкретном примере демонстрирует устройство, особенности подключения и возможности электрического проточного водонагревателя на кран:
Конструкция и особенности
Устройство проточного водонагревателя не отличается особой сложностью. Здесь применяется единая схема для всех моделей: холодная вода проходит через корпус изделия, где нагревательный элемент отдает ей свое тепло. Пользователь только открыл кран — внутри устройства мгновенно срабатывает реле, отвечающее за давление, в течение нескольких секунд вода нагревается до нужной температуры (зависит от мощности ТЭН), которая устанавливается вручную.
Внутри проточный водонагреватель оборудован специальным прерывателем, который сразу отключает питание, если температура воды резко возрастает и становится гораздо выше критического уровня. От возможных перепадов давления внутри водопровода, что может произойти в любую минуту, изделие надежно защищено встроенным стабилизатором.
Водонагреватели этого вида имеют отличия по типу нагревателя и системе управления.
Типы нагревателей
Как главная составляющая конструкции всех электроприборов, нагреватель обычно выпускается в виде спирали или ТЭН. В изделиях с неизолированной спиралью ее помещают в специальный блок из пластиковых трубок, находящийся внутри корпуса из весьма прочного пластика. При подключении такого устройства к сети происходит нагрев спиралей, а проходящий поток воды отбирает это тепло. Из-за малого объема воды в емкости и небольшой массы всего устройства остаточного тепловыделения после отключения не происходит, поэтому накипь не образуется. Такие изделия применяют для подогревания воды в бассейнах, в быту их следует использовать в регионах с очень жесткой водой.
Закрытые ТЭН работают по такому же принципу, нагревая поток проходящей через них воды, но у них спираль заключена в корпус из меди или латуни, поэтому в противопожарном смысле они намного надежнее, чем первый вариант.
Система управления
Водонагреватели проточного типа можно разделить по типу управления ними.
- Гидравлическое — этот вид менее точен, у него имеется 6 ступеней мощности, переключение производится вручную при помощи переключателя.
- Электронного типа — терморегулятор контролирует нагрев самостоятельно, пользователи только устанавливают приемлемую для них температуру. Такой вид управления считается весьма удобным.
При использовании механического варианта управления внутри изделия располагается гидравлический блок с мембраной, которая осуществляет включение или выключение прибора в зависимости от давления воды.
Электроника управляет всем процессом с помощью микропроцессора, а специальные датчики помогают ей обеспечить любую температуру, независимо от напора, она же задает оптимальную мощность, существенно сокращая расход электрической энергии.
Как пользоваться проточным нагревателем?
Важно разбираться не только в порядке подключения проточного водонагревателя, но и в особенностях его использования. В случае если спираль нагревателя будет покрыта жидкостью в недостаточном объеме, она сломается и пользоваться прибором станет невозможно
В случае если спираль нагревателя будет покрыта жидкостью в недостаточном объеме, она сломается и пользоваться прибором станет невозможно.

Как пользоваться проточным нагревателем

Схема подключения водонагревателя в квартире
Вне зависимости от выбранного вами варианта подсоединения проточного нагревателя использование такого устройства выполняется в следующем порядке:
- открывается вентиль;
- холодная вода переводится на нагреватель;
- через некоторое время из лейки нагревателя начинает выходить холодная жидкость;
- вы включаете водонагреватель;
-
спустя 30-60 секунд из лейки идет уже нагретая вода.
Как пользоваться проточным нагревателем
Выключение прибора выполняется в аналогичном порядке – вы отключаете нагреватель, ждете, пока из душевой лейки начинает идти холодная жидкость, и лишь после этого выключаете подачу воды.
Требуемый инструмент и материалы
Если проводка дома вполне способна работать с водонагревателями и есть возможность подключить его к системе водоснабжения или произвести врезку, то можно приступать к работам.
Из инструментов понадобиться:
- Перфоратор с буром нужной толщины;
- Рулетка;
- Набор ключей;
- Отвертки;
- Плоскогубцы;
- Молоток и т.д.
Дополнительно может понадобиться паяльник для пластиковых труб или плашка для нарезания резьбы на металлических трубах.

Эти инструменты нужны в случае надобности врезки с систему водоснабжения.
Потребуются также такие материалы:
- Пакля с пастой для герметизации соединения или фум-лента;
- Запорные краны (количество – от 1 до 3 шт.);
- Тройники (пластиковые или металлические);
- Монтажные крюки;
- Соединительные шланги (если их нет в комплекте);
- Предохранительный клапан (для бойлера);
- 3-жильный кабель (по длине его должно хватить до счетчика);
- Автоматический выключатель или розетка.
Дальше рассмотрим последовательность действий для установки и подключения водонагревателей разных типов.
Критерии выбора

На что обратить внимание при покупке? Ниже перечислены факторы, которые помогут подобрать оптимальный вариант. Безопасность
Безопасность.
Техника такого вида имеет определённый класс безопасности – IP. Это международная шкала позволяет понять, какой уровень защиты от попадания инородных тел в оборудование и степень защиты прибора от воздействия от воды. Всего в шкале две цифры, далее в таблице рассмотрим значения каждого показателя:
| Первое значение – защита от инородных тел и контактов | |
| 1 | Крупные предметы равное размеру руки |
| 2 | Средние объекты сходные с объемом пальца |
| 4 | Мелкие инородные тела меньше одного миллиметра (проволока) |
| 5 | Максимально возможная защита от любых попаданий инородных предметов |
| Второй показатель – защита от воды | |
| Не защищен от воды, требует дополнительного оснащения | |
| 1 | Капли воды, которые могут попасть на внешнюю часть корпуса нагревателя |
| 3 | Защищает от дождя и попадания брызг под углом в 60 градусов |
| 4 | Полностью защищает от брызг |
| 5 | Защищает от любой струи воды под различным напором. |
На прилавках магазина, в зависимости от цены, можно встретить модели в основном с маркировкой IP24 или 25. Эти приборы не требует специального оснащения для защиты, но в целях практичности их устанавливают в отведенный шкаф, который позволит увеличить продолжительность работы механизма.
Мощность.
Выше были перечислены различие мощности. Предварительно перед покупкой лучше провести примерный расчет потребляемой воды в семье, а также учесть, в каких местах требуется оборудование. Необходимо помнить также возможности поступления электрического тока, мощный водонагреватель не сможет работать, если техническое состояние электрики рассчитано на минимальный расход.
Цена и производитель.
Стоимость прибора зависит от мощности и наличия или отсутствия напора. Марку необходимо подбирать не только по рекламе в СМИ, но и по реальным отзывам покупателей. Самыми лучшими производителями считаются Electrolux, AEG, Thermex, Kospel, Redring. Ценовая политика у них разная, поэтому на вопрос какой фирмы лучше купить прибор поможет предварительный анализ характеристик.
Виды проточных водонагревателей
На отечественном рынке широко представлены два вида электроводонагревателей: напорные (закрытые) и безнапорные (открытые).
Напорные
Такие нагреватели работают под давлением. Назначение — обслуживание нескольких точек водоразбора одновременно. Главное требование — обеспечить необходимое давление в водопроводной магистрали. Приборы мощностью до 12 кВт могут подключаться к однофазным электросетям. Более мощные от 3 до 30 кВт — к трехфазным системам электроснабжения.
Напорный проточный водонагреватель
Достоинства:
- Способность поддерживать нужный нагрев и точно доводить температуру воды до заданных показателей;
- Возможность обслуживания нескольких точек водоразбора одновременно;
- Автоматическое выключение, в зависимости от наличия или отсутствия напора воды.
Недостатки:
- Большое энергопотребление;
- Высокая стоимость.
Безнапорные
Открытые нагреватели могут работать при атмосферном давлении в системе. Как правило, устанавливаются непосредственно в точку водоразбора. Характеризуются небольшой мощностью (от 2 до 6 кВт), наличием предусмотренной душевой насадки или крана.
Безнапорное устройство
Достоинства:
- Небольшая стоимость;
- Компактность;
- Простота в установке и эксплуатации;
- Работают в местах с нестабильным или очень низким давлением воды.
Недостатки:
- Возможность обслуживания только одной точки водоразбора;
- Низкая температура нагрева (30°).
Гидравлическое
Модели с таким типом управления характеризуются простотой конструкции, отсутствием регулировки мощности нагревательного элемента. Степень нагрева воды изменяется вручную с помощью регулировки напора. В некоторых моделях производители предусмотрели возможность ступенчатой регулировки мощности нагревательного элемента.
Гидравлическое управление
Достоинства: простота конструкции.
Недостатки: низкая точность степени нагрева воды.
Электронное
Устройства с электронным управлением оснащены терморегулятором, который контролирует температуру нагрева воды самостоятельно согласно заданным параметрам. Электронная система управляет нагревом, учитывая пользовательские настройки и расход жидкости.
Электронное управление
Достоинства:
- Гибкие настройки;
- Автоматическое управление температурой нагрева;
- Возможность снижения затрат на использованную электроэнергию.
Недостатки:
- Сложность конструкции;
- Возможны сбои в работе терморегулятора;
- Плохая ремонтопригодность.
Как выбрать производительность проточного водонагревателя?
Чтобы подобрать проточный водонагреватель вам понадобится определить его оптимальную производительность, которая выражается в литрах в минуту и определяется по формуле:
V = 14,3 • W/(t2 – t1),
где V – объем нагреваемой воды, л/мин; W – мощность водонагревателя, кВт; t2 – температура воды на выходе из нагревателя, °С; t1 – температура воды на входе в нагреватель, °С.Температура зимой может составлять всего 5°С, а летом доходить до 10-15°С. Для принятия душа комфортная температура составляет примерно 40°С, для мытья посуды — 45°С.Для приема душа нужен расход воды, составляющий примерно 4 л/мин. Тогда в зимний период времени для обеспечения нагрева воды до 40 градусов понадобится нагреватель Не трудно подсчитать, что для обеспечения нагрева такого количества воды в зимний период понадобится проточный водонагреватель мощностью, которая определяется из уравнения:4 = 14,3 • W/(45 – 5)
То есть W будет примерно имеет значение 11 кВт.Ниже приведена таблица, позволяющая ориентировочно подсчитать необходимые параметры горячего водоснабжения для различных целей:
|
Назначение расхода |
Требуемая температура воды, ºС |
Требуемый расход воды, л/мин |
|
Мытье рук |
35-38 |
2-4 |
|
Кухонная раковина |
45-55 |
3-5 |
|
Душ |
37-40 |
4-8 |
|
Чистка |
45-55 |
4-6 |
|
Ванна |
37-40 |
8-10 |
Можно также воспользоваться более простым подсчетом мощности проточного электроводонагревателя. Для этого достаточно требуемый расход в л/мин умножить на 2.
Для чего нужен
Не совсем ясно широкому потребителю, для чего нужен столь компактный нагреватель, который умещается в смесителе. Однако есть ситуации, в которых он полезен:
- Чтобы получить горячую воду на даче или в загородном доме, ставить огромный накопительный бак или сверхмощный проточный нагреватель попросту нерационально, а компактный водонагреватель на кран будет в самый раз, тем более что потребляет он не более 3-3,5 кВт на уровне с любой другой бытовой техникой.
- В качестве запасного варианта на время отключения горячей воды. Если горячая вода из городской сети поступает круглогодично и обычно беспрерывно, то самыми раздражающими остаются разве что дни, выделенные для профилактических работ. Выстроить свой распорядок с их учетом достаточно просто, а чтобы не терять в комфорте и иметь возможность помыть посуду теплой водой, как раз будет достаточно компактного нагревателя на кран.
- Законов физики никто не отменял. Чтобы получить в кране теплую воду потребуется, в конечном счете, одно и тоже количество энергии как в случае с бойлером, проточным нагревателем, так и с водонагревателем на смесителе. Зато последний обладает ключевым преимуществом – компактными размерами и при этом умеренной нагрузкой на сеть электропитания.
Смеситель со встроенным водонагревателем – это хорошо продуманное и сбалансированное устройство. В нем ограничивается напор, чтобы вода успевала прогреваться. А на выходе всегда стоит аэратор или специальная лейка, формирующая хорошую струю, которой удобно пользоваться. На лицо сразу два преимущества: экономия воды и экономия электричества.
Конструкция и принцип работы
Схема устройства
Проточный водонагреватель представляет собой смеситель, в конструкции которого предусмотрен электрический нагревающий элемент с теплообменником проточного типа. Его задача – нагревать холодную воду до оптимальных 40°С, чего вполне достаточно для мытья посуды.
Кран с водонагревателем совмещает в себе воду и электричество, поэтому должен обладать высокой степенью защиты. С этой задачей справляются следующие элементы устройства:
- Встроенное УЗО. Защищает устройство от перепадов напряжения и человека от удара электрическим током в случае пробоя одного из электрических элементов крана.
- Датчик перегрева воды. Встраивается в нагревательную камеру, отключает питание, когда вода нагревается свыше 60°С, и включает при снижении температуры.
- Датчик защиты от сухого включения. Если водоснабжение отключится, напор воды снизится ниже 0,04 мПа или превысит давление 0,7 Мпа, то происходит отключение питания водонагревателя.
- Силиконовый демпфер. Необходим для защиты от гидроударов.
- Водонепроницаемая оболочка устройства, соответствующая международному стандарту IPх4
Все перечисленные узлы умещаются в корпус чуть больше привычного смесителя или выполнено в виде утолщения на гусаке крана. Настройка чаще выполнена одной ручкой управления, с помощью которой устанавливается:
- выбор холодной или горячей воды;
- регулировка мощности нагревателя;
- напор.
Преимущества и недостатки
Любые устройства имеют наряду с положительными моментами и отрицательные стороны. Портативные водонагреватели на кран в этом плане не являются исключением. Потребителей привлекают в них:
- Незначительные размеры. Если ванная комната имеет маленькую площадь, то такой прибор будет идеальным решением. Нагреватель займет только место, необходимое под смеситель в раковине или мойке на кухне.
- Высокая скорость нагрева. Вне зависимости от показателей мощности любой прибор может разогреть воду до нужной температуры за 30 секунд. Этим не могут похвастаться даже накопительные устройства, в случае с которыми, чтобы иметь в кране горячую воду, устройство следует включить заранее, и лучше всего это сделать за полчаса до начала использования.
- Постоянный контроль уровня нагрева. В современных моделях степень нагрева контролируется с помощью специального индикатора. Он постоянно отслеживает ситуацию и в случае необходимости вносит коррективы в работу нагревательных элементов.
- Эстетичный внешний вид. Во многих торговых заведениях, которые предлагают подобные устройства, они доступны в широком ассортименте. Можно выбрать дизайн и цветовую гамму. Помимо этого, приборы отличаются своими формами и имеют разнообразную конструкцию вентилей.
Простота в использовании и экономность – главные плюсы проточных нагревателей
- Простота монтажа. Процедура установки ничем не отличается от монтажа обычного смесителя. Отличие лишь в том, что это приспособление необходимо подключать к электросети. Другая особенность — наличие у конструкции заземления.
- Высокая эффективность. Вхолостую такой нагреватель никогда не работает. Он функционирует только «по факту». Если пользователь выключил кран, то электричество не расходуется.
- Низкая стоимость. Цена на приборы гораздо ниже, чем на накопительные устройства для нагрева воды. Поэтому их выбирают многие люди, которым необходимо иметь бесперебойное горячее водоснабжение.
https://youtube.com/watch?v=U6NekXLIGJM
Среди недостатков всех моделей можно выделить следующие:
- Высокая энергоемкость. Обычная их мощность составляет 2,5−4,5 кВт. Использование такого оборудования в городской квартире существенно увеличивает счета за электричество, особенно если прибор используется часто.
- Другой минус заключается в ограниченной пропускной способности. Это означает, что за минуту количество проходящей через кран нагретой воды составляет всего 6 л. При работе устройства возникает серьёзная нагрузка на электрическую сеть. Поэтому если в здании проложена старая проводка, то при установке такого прибора желательно проложить отдельную сеть. В противном случае велик риск замыкания.
- Еще один негативный момент заключается в то, что термокран можно применять для обслуживания только одной точки водозабора. Горячую воду, которая течет из него, нельзя разделить на несколько потоков, поэтому у пользователя нет возможности одновременно использовать её и для мытья посуды, и для приема водных процедур.
- Следует отметить, что ремонт подобных устройств — большая проблема. Если произошла поломка, восстановление прибора невозможно. Единственное решение — выбросить прибор и приобрести новый.
Как устроен проточный водонагреватель
Проточный нагреватель — это небольшой корпус-коробка, в котором находится трубчатый нагревательный элемент, или ТЭН. Жидкость поступает в корпус, и омывая ТЭН, струи воды сильно нагреваются за короткий промежуток времени. Поэтому чем больше поток воды (выше напор), тем меньше успеют прогреться струи и тем ниже будет итоговая температура вашего душа.
Преимущества и недостатки проточных водонагревателей
Прежде чем выбирать подходящую модель, стоит взвесить все «за» и «против» и совершать покупку осознанно.
Плюсы проточных водонагревателей:
- малогабаритность: устройство впишется даже в небольшую квартиру с тесной ванной;
- скорость: жидкость греется в момент прохождения через механизм, а значит, вам не придется ждать, пока вода нагреется, и вы наконец сможете принять душ;
- экономичность: данный тип нагревателей позволяет заметно экономить электроэнергию в сравнении с накопительными;
- варианты газовых моделей, если в вашу квартиру проведен газ;
- простота подключения, что дает возможность использовать нагреватель как временную меру при краткосрочных перебоях с горячим водоснабжением.
Минусы проточных водонагревателей:
- зачастую вода не успевает сильно прогреться и остается комфортно теплой: стоит учесть любителям “кипяточно-горячих” ванн;
- лимит выбора моделей с двумя водозаборными точками: придется выбирать, где у вас будет горячая вода — на кухне или в ванной;
- если нужен прибор высокой мощности, без привлечения профессионалов не обойтись.
Проточный электрический водонагреватель: плюсы и минусы
Водогрейное оборудование проточного типа имеет недостатки и преимущества в сравнении монтажом других систем горячего водоснабжения. Чтобы разобраться в основных плюсах и минусах проточных водонагревателей, далее будут рассмотрены положительные и отрицательные характеристики таких устройств.
Плюсы:
- Производство неограниченного количества горячей воды.
- Высокая скорость нагрева жидкости.
- Подходит даже для небольшого помещения, т. к. не занимает слишком много места.

Компактное водогрейное устройство проточного типа
- Вода не застаивается как в накопительных бойлерах.
- Относительно невысокая стоимость.
Минусы:
- Высокая нагрузка на электропроводку.
- Относительно невысокая температура нагрева, особенно в зимний период.
Негативных характеристик у проточных водонагревателей не так много, но на недорогих моделях, могут наблюдаться серьёзные проблемы с правильной регулировкой температуры воды.




































