Содержание
- 1 Устройство и принцип работы
- 2 Место установки
- 3 Ключевые узлы
- 4 Как сделать ветрогенератор своими руками
- 5 Как сделать ветрогенератор своими руками: последовательность действий
- 6 Ветровое колесо
- 7 Ветряк #1 — конструкция роторного типа
- 8 Самостоятельное изготовление домашней ветродуйки из шагового двигателя
- 9 Ветрогенераторы своими руками на 220 в
- 10 Агрегат аксиального типа
- 11 Безопасность
- 12 ВСУ Бирюкова
- 13 Ветрогенераторы и контроллеры заряда АКБ
- 14 Дополнительное электрооборудование
- 15 Типовая конструкция
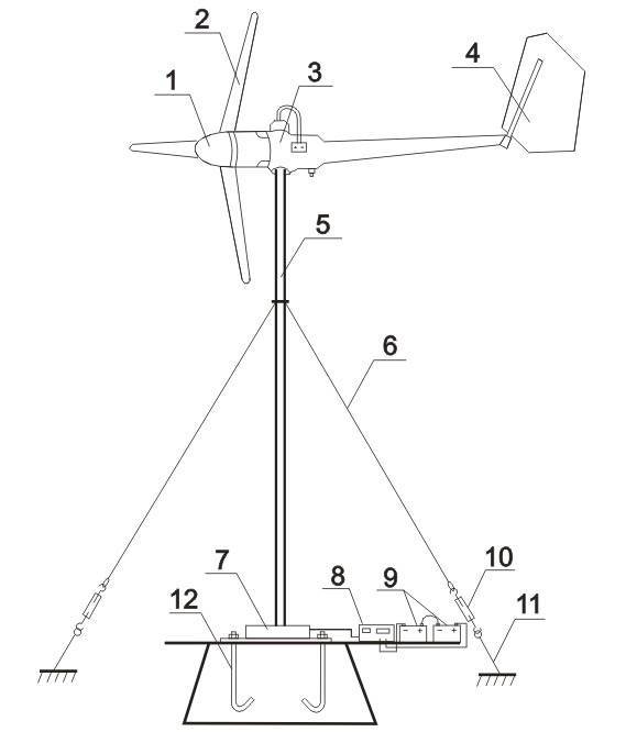
Устройство и принцип работы
Ветрогенератор работает при помощи силы ветра. Конструкция данного устройства должна включать следующие элементы:
- турбинные лопасти или пропеллер;
- турбина;
- электрический генератор;
- ось электрического генератора;
- инвертор, в функции которого входит преобразование переменного тока в постоянный;
- механизм, вращающий лопасти;
- механизм, вращающий турбину;
- аккумулятор;
- мачта;
- контроллер вращательных движений;
- демпфер;
- датчик ветра;
- хвостовик ветряного датчика;
- гондола и иные элементы.
У промышленных агрегатов предусмотрен силовой шкаф, защита от молнии, поворотный механизм, надежный фундамент, приспособление для тушения пожара, телекоммуникации.

Ветрогенератором принято считать устройство, которое преобразует ветряную энергию в электричество. Предшественниками современных агрегатов являются мельницы, что производят муку из зерна. Однако схема подключения и принцип работы генератора практически не поменялись.
- Благодаря силе ветра начинают вращаться лопасти, крутящий момент которых передается к валу генератора.
- Вращение ротора создает трехфазный переменный ток.
- Через контроллер переменный ток отправляется к аккумуляторной батарее. Аккумулятор необходим для того, чтобы создать стабильную работу ветрогенератора. Если ветер присутствует, то агрегат заряжает батарею.
- Для защиты от урагана в ветряной системе генерации тока имеются элементы для увода ветроколеса от ветра. Происходит это складыванием хвоста или торможением колеса при помощи электрического тормоза.
- Чтобы подзарядить аккумулятор, потребуется установить контролер. В функции последнего входит отслеживание зарядки АКБ для предотвращения ее поломки. При надобности данное приспособление может сбросить лишнюю энергию на балласт.
- Аккумуляторы имеют постоянное невысокое напряжение, однако к потребителю оно должно доходить силой 220 Вольт. По этой причине в ветрогенераторы устанавливают инверторы. Последние способны преобразовывать переменный ток в постоянный, увеличивая показатель его силы до 220 Вольт. Если инвертор не будет установлен, то потребуется использовать только те приборы, которые рассчитаны на низкое напряжение.
- Ток в преобразованном виде отправляется к потребителю для питания отопительных батарей, освещения помещений, работы бытовой техники.
Место установки
От правильно подобранного места расположения ветряка будет зависеть эффективность его работы. Нужно найти место, где лопастям будет доступно максимальное количество ветра.
Это должно быть открытое пространство, возвышенность или крыша строения – подальше от деревьев и домов. И дело не только в помехах, но и в том, что устройство производит во время работы некоторый шум, а значит, может мешать спокойной жизни соседей.
Иногда на некотором удалении от жилого дома строят небольшой домик, в котором можно разместить оборудование и аккумуляторы, а на его крыше закрепляют ветрогенератор, можно даже в паре с солнечными батареями.
Ключевые узлы
Как говорилось, ветряной генератор можно сделать в домашних условиях. Надо подготовить определенные узлы для его надежного функционирования. Они включают:
- Лопасти. Изготавливать их можно из разных материалов.
- Генератор. Его тоже можно собрать собственноручно или же купить готовый.
- Хвостовая зона. Используется для движения лопастей по направлению вектора, обеспечивая предельно возможный КПД.
- Мультипликатор. Увеличивает скорость вращения ротора.
- Мачта для крепежа. Она играет роль элемента, на котором зафиксированы все указанные узлы.
- Натяжные тросы. Необходимы для фиксации конструкции в целом и защиты от разрушения под воздействием ветра.
- Аккумулятор, инвертор и контроллер заряда. Способствуют преобразованию, стабилизации энергии и ее накапливанию.
Новичкам следует рассматривать простые схемы роторного ветрогенератора.
Как сделать ветрогенератор своими руками
Чтобы смонтировать это устройство в домашних условиях вам потребуется:
- Доскональные знания электрика;
- Источник питания. Это может быть генератор переменного тока или асинхронный двигатель.
- Надежное место для установки аппарата. Так как вес отдельных бытовых агрегатов может достигать от 200 до 800 кг.
- Ниодимовые магниты. Этот класс магнитов обладает большей производительностью;
Различные виды форм. В нашем случае более подходят прямоугольные или круглые
- Провода подходящего сечения;
- Материалы для монтажа рамы и непосредственно ветряка.
Как уже описывалось выше, существуют множество вариантов конструкций. От габаритов и способа соединения узлов зависит шумовой фон, создаваемый агрегатом. Если вы не хотите неприятностей с соседями, обсудите этот вопрос заранее, так как отдельные агрегаты работают достаточно шумно, например, как собранный своими руками ветряной генератор в следующем видео.
После проведения всех предварительных мероприятий вам потребуется подобрать подходящий вашим потребностям источник питания. При ограниченных финансовых возможностях возможны два бюджетных варианта:
- Автомобильный генератор;
- Асинхронный двигатель со стиральной машины.
У каждого варианта есть свои положительные и отрицательные стороны.
Вариант ветрогенератора из стиральной машины своими руками
Для увеличения мощности двигатель модернизируют, заменяя ферритовые магниты на ниодимовые. Следует отметить, что установка магнитов довольно трудоемкий процесс, требующий определенных навыков.
Пример расположения ниодимовых магнитов в двигателе от стиральной машины
В целях экономии времени и нервов, более простой вариант – это покупка готового ротора подходящего размера.Рационально применять такой двигатель в устройстве с небольшими габаритами.
Изготовление ветрогенератора своими руками из автомобильного генератора
Этот вариант также нуждается в доработке, так как стандартный образец работает при 5000 – 6000 оборотах в минуту. В модернизацию входят:
Прибор укомплектовывается ниодимовыми магнитами. Они устанавливаются в строгом порядке, то есть полюса чередуются. Для удобства из плотного картона вырезается шаблон;
Шаблон расположения магнитов
- Перематывается обмотка статора. Количество витков увеличивается, следовательно, сечение провода уменьшается.
- В стандартной комплектации нет магнитов, поэтому центральный вал нужно выполнить из немагнитного материала, например, из титана.
Но даже при соблюдении всех требований для оптимального напряжения, ротор должен вращаться от 500 раз в минуту.
Общие отрицательные характеристики:
- Оба варианта недолговечны, требуют ежегодного ремонта или замены;
- Вырабатываемой мощности не хватит на полноценное энергоснабжение;
- Нуждаются в существенной доработке.
Если уж вы обладаете нужными знаниями и примерно знаете, как сделать ветрогенератор на 220В своими руками более рационально будет смонтировать агрегат большей мощности.
Один из многочисленных аварийных случаев
Как сделать ветрогенератор своими руками: последовательность действий
Для домашнего горизонтального ветрогенератора подходит мотор от трактора. Тракторный ротор вращается до 6000 об/мин, поэтому обмотку статора перематывают под малые обороты или устанавливают механический редуктор. С учетом моторного веса в 6 кг, лучше использовать метод изменения электрообмотки, что не увеличит общую массу конструкции.
Порядок изготовления:
- Винтовыми лопастями послужит труба из алюминия Ø 200 мм. По чертежам вырезать 2—3 заготовки.
- Из алюминиевого листа собрать диск винта. При размахе крыла в 2 м подойдет круг Ø 150—200 мм.
- Вырезать 6 пластин и склеить их эпоксидкой.
- В центре диска просверлить отверстие под крепление на валу, установить шпоночный паз.
- На диске разметить и сделать отверстия для крепления болтами в намеченных точках лопастей.
- На основание флюгерной конструкции сгодится труба прямоугольного профиля, прикрепленная к генератору.
- К концу профильной трубы прикрепить хвостовой флюгер.
- В точке центра тяжести, поперек тела трубы, закрепить болт (длиной до 300 мм и Ø 30 мм) снизу гайкой, сверху контргайкой. В его середине высверлить отверстие для кабеля.
- Прикрепить генератор на основание флюгера.
- Закрепить механизм на мачте.
- Пропустить провод от генератора сквозь болт внутрь трубы для нижнего вывода.
- Конец провода пропустить через контроллер и подключить к АКБ.
- Поднять мачту и укрепить на месте растяжками.
Для увеличения срока службы ВСУ обязательным дополнением к конструкции становятся модуль торможения и ограничитель поворота флюгера.
Инструкция сборки из автомобильного генератора
Для конструирования своими руками ветрогенератора из автомобильного генератора подойдет четырехлопастное ветроколесо. У лопастей крыльчатого типа с Ø до 1,8 м аэродинамическое сопротивление улучшено, что повышает производительность энергии. Подготовленный пропеллер крепится к генераторной оси болтами.
Чтобы электрическая схема заработала, требуется предварительная перемотка статора. Для этого избавляются от катушки возбуждения и перематывают статор тонкими медными жилами. После переделки магнитная способность ротора увеличивается и появляется мощность до 300 ватт (при ветре 10 м/с). К механизму подключают провода и соединяют их аккумуляторной батареей и преобразователем напряжения.
Особенности сборки ветрогенераторра из стиральной машины своими руками
Единственным отличием при изготовлении ветрогенератора своими руками из стиральной машины считается невозможность его применения без модернизации. Диаметр ротора, извлеченного из разобранного двигателя, уменьшают на токарном станке для соответствия с магнитами. В дальнейшем процесс сборки ничем не отличается от обычной ветроустановки на неодимовых магнитах.
Ветрогенератор своими руками из шагового двигателя
Для подзарядки небольшого аккумулятора подойдет установка, выполненная из мотора принтера. Вырабатываемый переменный ток легко преобразуется в постоянный с помощью конденсаторов и диодных мостов по схеме.
С целью снижения потери 220 В пользуются диодами Шоттка.
Такому энергоустройству хватит винта до 50 см. Для изготовления лопастей берут ПВХ трубы. Под размер вала вытачивается втулка с фланцем и насаживается на него. Механизм закрепляется винтами. К фланцам крепятся лопасти.
Питание выводится к электроплате внизу. Из шагового двигателя выходят до 6 проводов, для которых требуются токосъемные кольца. Собрав в единую цепь все элементы, приступают к тестированию.
Ветрогенератор из автомобильного генератора своими руками
Мотор каждой машины нуждается в модификации. Для изготовления ветрогенератора своими руками из автомобильного генератора обязательно перематывают катушку проводами с меньшим сечением и увеличенным количеством витков. Если не заниматься обновлением, в схеме электроцепи должен появиться редуктор (мультипликатор). В таком случае двигатель не переделывают.
Ветровое колесо
Лопасти, пожалуй, самая важная часть ветрогенератора. От конструкции будет зависеть работа остальных узлов устройства. Изготавливают их из разных материалов. Даже из пластиковой канализационной трубы. Лопасти из трубы просты в изготовлении, стоят дёшево и не подвержены воздействию влаги. Порядок изготовления ветроколеса следующий:
- Необходимо рассчитать длину лопасти. Диаметр трубы должен быть равен 1/5 от общего метража. К примеру, если лопасть будет метровая, то подойдёт труба диаметром 20 см.
- Разрезаем трубу лобзиком вдоль на 4 части.
- Из одной части изготавливаем крыло, которое послужит шаблоном для вырезания последующих лопастников.
- Заусенца на краях сглаживаем абразивом.
- Лопасти фиксируют к алюминиевому диску с приваренными полосами для крепления.
- Далее к этому диску прикручивается генератор.
Лопасти для ветрового колеса
После сборки ветроколесо нуждается в балансировке. Его закрепляют на штативе горизонтально. Операцию проводят в закрытом от ветра помещении. В случае правильно проведённой балансировки колесо не должно двигаться. Если же лопасти вращаются сами, то их требуется подточить до придания равновесия всей конструкции.
Только после успешного завершения данной процедуры следует перейти к проверке точности вращения лопастей, они должны крутиться в одной плоскости без перекоса. Допускается погрешность в 2 мм.
Схема сборки генератора
Ветряк #1 — конструкция роторного типа
Можно сделать своими руками несложный ветряк роторного типа. Конечно, снабдить электроэнергией большой коттедж ему вряд ли будет под силу, зато обеспечить электричеством скромный садовый домик вполне под силу. С его помощью можно снабдить светом в вечернее время суток хозяйственные постройки, осветить садовые дорожки и придомовую территорию.

Так или почти так выглядит роторный ветрогенератор, сделанный своими руками. Как видите, в конструкции этого оборудования нет ничего сверхсложного
Подготовка деталей и расходников
Чтобы собрать ветрогенератор, мощность которого не будет превышать 1,5 КВт, нам понадобятся:
- генератор от автомобиля 12 V;
- кислотный или гелиевый аккумулятор 12 V;
- преобразователь 12V – 220V на 700 W – 1500 W;
- большая ёмкость из алюминия или нержавеющей стали: ведро или объёмистая кастрюля;
- автомобильное реле зарядки аккумулятора и контрольной лампы заряда;
- полугерметичный выключатель типа «кнопка» на 12 V;
- вольтметр от любого ненужного измерительного устройства, можно автомобильный;
- болты с шайбами и гайками;
- провода сечением 2,5 мм2 и 4 мм2;
- два хомута, которыми генератор будет крепиться к мачте.
Для выполнения работы нам будут нужны ножницы по металлу или болгарка, рулетка, маркер или строительный карандаш, отвертка, ключи, дрель, сверло, кусачки.
Ход конструкторских работ
Мы собираемся изготовить ротор и переделать шкив генератора. Для начала работы нам понадобится металлическая ёмкость цилиндрической формы. Чаще всего для этих целей приспосабливают кастрюлю или ведро. Возьмем рулетку и маркер или строительный карандаш и поделим ёмкость на четыре равные части. Если будем резать металл ножницами, то, чтобы их вставить, нужно сначала сделать отверстия. Можно воспользоваться и болгаркой, если ведро не выполнено из крашеной жести или оцинкованной стали. В этих случаях металл неминуемо перегреется. Вырезаем лопасти, не прорезая их до конца.

Чтобы не ошибиться с размерами лопастей, которые мы прорезаем в ёмкости, необходимо сделать тщательные замеры и тщательно всё пересчитать
В днище и в шкиве размечаем и высверливаем отверстия для болтов
На этой стадии важно не торопиться и расположить отверстия с соблюдением симметрии, чтобы при вращении избежать дисбаланса. Лопасти следует отогнуть, но не слишком сильно. При выполнении этой части работы учитываем направление вращения генератора
Обычно он крутится по движению часовой стрелке. В зависимости от угла изгиба увеличивается и площадь воздействия потоков ветра, а, значит, и скорость вращения
При выполнении этой части работы учитываем направление вращения генератора. Обычно он крутится по движению часовой стрелке. В зависимости от угла изгиба увеличивается и площадь воздействия потоков ветра, а, значит, и скорость вращения.

Это ещё один из вариантов лопастей. В данном случае каждая деталь существует отдельно, а не в составе ёмкости, из которой вырезалась

Раз каждая из лопастей ветряка существует отдельно, прикручивать нужно каждую. Преимущество такой конструкции в её повышенной ремонтопригодности
Ведро с готовыми лопастями следует закрепить на шкиве, используя болты. На мачту при помощи хомутов устанавливаем генератор, затем подсоединяем провода и собираем цепь. Схему, цвета проводов и маркировку контактов лучше заранее переписать. Провода тоже нужно зафиксировать на мачте.
Чтобы подсоединить аккумулятор, используем провода 4 мм2, длина которых не должна быть более 1-го метра. Нагрузку (электроприборы и освещение) подключаем с помощью проводов сечением 2,5 мм2. Не забываем поставить преобразователь (инвертер). Его включают в сеть к контактам 7,8 проводом 4 мм2.

Конструкция ветряной установки состоит из резистора (1), обмотки стартера генератора (2), ротора генератора (3), регулятора напряжения (4), реле обратного тока (5), амперметра (6), аккумулятора (7), предохранителя (8), выключателя (9)
Достоинства и недостатки такой модели
Если всё сделано правильно, работать этот ветрогенератор будет, не создавая вам проблем. При аккумуляторе 75А и с преобразователем 1000 W он может питать уличное освещение, охранную сигнализацию, приборы видеонаблюдения и т.д.

Схема работы установки наглядно демонстрирует то, как именно энергия ветра преобразуется в электричество и то, как она используется по назначению
Достоинства такой модели очевидны: это весьма экономичное изделие, хорошо поддаётся ремонту, не требует особых условий для своего функционирования, работает надежно и не нарушает ваш акустический комфорт. К недостаткам можно отнести невысокую производительность и значительную зависимость от сильных порывов ветра: лопасти могут быть сорваны воздушными потоками.
Самостоятельное изготовление домашней ветродуйки из шагового двигателя
Шаговые двигатели используются во многих электромеханических устройствах, например в принтерах. Если начать вращать вал такого движка, то на его клеммах появится электрическое напряжение. Это означает, что шаговый электродвигатель можно использовать в качестве электрогенератора.
Что подготовить для работы
Перед началом работы следует обзавестись маленьким шаговым электродвигателем, например от принтера. Приготовить электронные компоненты и провода для того, чтобы собрать схему выпрямителя. Потребуются обрезки тонкой листовой стали или алюминия для создания конструкции. И обязательно − мелкий крепёж. Нужен несложный слесарный инструмент и паяльник.
Чертежи и эскизы
Конструкторскую часть можно оформить в виде эскизов. Электродвигатель устанавливается на фанерную пластину по посадочным отверстиям на корпусе моторчика. Схема выпрямителя приведена на рисунке ниже.
ФОТО: YouTube.comЭлектрическая схема выпрямителя для генератора из шагового двигателя
Технология изготовления
Двигатель привинтить к фанерной пластине. Для увеличения его оборотов и получения повышенного напряжения можно сделать повышающий обороты редуктор. Для этого, тщательно определив межцентровое расстояние и выбрав параметры зуба, нужно на этой же базовой пластине на оси установить шестерню большего диаметра.
ФОТО: YouTube.comПовышающий обороты редуктор
Ручка на ведущей шестерне нужна для проверочных работ и для выработки тока при срочной зарядке микроаккумуляторов.
ФОТО: YouTube.comУстройство в сборе для проверки его работыФОТО: YouTube.comНа плате установлены мотор-генератор и блок выпрямителя
Проверка работоспособности
Для проверки работоспособности готового устройства к нему подключается USB-тестер. При вращении ручки на мониторе тестера появляется значение величины электрического напряжения.
ФОТО: YouTube.comПроверка работоспособности устройства
Для работы в качестве ветрогенератора на вал двигателя следует одеть крыльчатку.
Ветрогенераторы своими руками на 220 в
Для того, чтобы собрать ветроуловитель нам понадобятся: генератор на 12 вольт, аккумуляторные батареи, преобразователь с 12 v на 220 в, вольтметр, медные провода, крепежи (хомуты, болты, гайки).
Чтобы ветрогенератор получился практичным и качественным, перед его изготовлением лучше дополнительно ознакомиться с подробной инструкцией
Изготовление любого ветряка предполагает наличие таких этапов как:
- Изготовление лопастей. Лопасти вертикального ветрогенератора можно сделать из бочки. Нарезать детали можно при помощи болгарки. Винт для небольшого ветряка можно изготовить из трубы ПВХ с сечением в 160 мм.
- Изготовление мачты. Мачта должна быть высотой не менее 6 метров. При этом, для того, чтобы крутящее усилие не сорвало мачту, ее необходимо закрепить ее на 4 растяжки. Каждую растяжку, при этом, нужно намотать на бревно, которое следует закопать глубоко в землю.
- Установка неодимовых магнитов. Магниты наклеиваются на диск ротора. Лучше выбирать прямоугольные магниты, магнитные поля в которых сосредотачиваются по всей поверхности.
- Намотка катушек генератора. Намотка выполняется медной нитью с диаметром не менее двух мм. При этом, мотков должно быть не более 1200.
- Фиксация лопастей к трубе при помощи гаек.
При наличии мощных аккумуляторных батарей и инвертора, полученное устройство сможет выработать такое количество электричества, которого будет достаточно для использования бытовой техники (например, холодильника и телевизора). Отлично подойдет такой генератор для поддержания работы систем освещения, отопления и вентиляции небольшого дачного домика, теплицы.
Агрегат аксиального типа
Так как рынок насытился неодимовыми магнитами, стоимость этих изделий значительно снизилась. В результате можно на их основе собрать эффективный ветряк. Основой аксиального генератора станет ступица с тормозными дисками от машины. Перед началом работ ее необходимо очистить, проверить и смазать подшипники, а также покрасить.
Установка магнитов
Всего потребуется около 20 магнитов размера 20х8 мм. При желании можно использовать и большее количество этих изделий. Однако в такой ситуации следует руководствоваться двумя правилами:
- Если генератор будет однофазный, то число магнитов должно соответствовать количеству полюсов.
- Для трехфазного устройства следует придерживаться соотношения полюсов и катушек соответственно 2/3 или 4/3.
Магниты просто наклеиваются на диски ротора, но при этом их полюса должны чередоваться. Чтобы все сделать правильно, стоит предварительно изготовить шаблон-шпаргалку. Предпочтение следует отдать магнитам прямоугольной формы, так как при работе они создают магнитное поле по всей длине. Также следует отметить, что противостоящие магниты должны иметь разные полюса.
Выбор типа генератора
При сравнении одно- и трехфазного устройства, предпочтительнее выглядит второе. Одним из основных недостатков однофазного генератора являются вибрации, возникающие при работе. Причина их появления кроется в разнице амплитуд тока, так как его отдача происходит неравномерно. Благодаря компенсации фаз в трехфазной модели, поддерживается постоянная мощность.
Кроме этого отдача однофазного устройства примерно на 50% меньше. На этом преимущества 3-фазного генератора не заканчиваются. Так как при его работе не возникает вибрация, то шумовые показатели всей ветряной установки будут существенно ниже. При этом не стоит забывать и об увеличении срока эксплуатации, если выбор пал на трехфазную модель генератора.
Изготовление катушек
В создаваемом ветряке процесс зарядки батареи должен стартовать при частоте вращения ротора в 100−150 об/мин. Таким образом, общее число витков на всех катушках находится в диапазоне 1000−1200.Если эти цифры разделить на количество используемых катушек, то можно рассчитать число витков на каждой из них.
Следует помнить, что благодаря увеличению количества полюсов можно повысить мощность всей установки при работе на низких оборотах. На характеристики самодельного генератора серьезное влияние оказывает не только количество магнитов, но и их толщина. Общую мощность генератора можно рассчитать опытным путем. Для этого после изготовления одной катушки ее следует прокрутить в устройстве и измерить напряжение на определенном количестве оборотов без нагрузки.
Дальнейшие расчеты достаточно просты. Можно предположить, что при сопротивлении в 3 Ом на 150 об/мин на выходе получилось 27 В. Если из этого значения вычесть номинальное напряжение аккумулятора (в этом случае 12 В), получится 15 вольт. Для определения силы тока полученный результат (15 В) необходимо разделить на сопротивление катушки (3 Ом), что дает 5 ампер. Катушки необходимо между собой закрепить неподвижно, а выведенные наружу концы фаз соединяются треугольником или звездой. После сборки генератора его стоит проверить на работоспособность.
Финальный этап сборки
Высота мачты в среднем должна составлять от 6 до 12 метров, а ее основание стоит забетонировать. Ветряк монтируется на верхней части мачты и для упрощения ремонтных работ стоит предусмотреть механизм ее подъема и спуска, который будет приводиться в движение с помощью ручной лебедки.
Для изготовления пропеллера отлично подойдет труба из ПВХ с диаметром в 160 мм. Выбор формы лопастей осуществляется опытным путем, а основной задачей на этом этапе является усиление крутящего момента при работе на низких оборотах. Чтобы уберечь винт от сильных порывов ветра, его стоит оснастить складным хвостом.
Безопасность
Очень важный пункт. Потому что многие не догадываются, какие проблемы могут возникнуть от использования на первый взгляд безопасного источника энергии. При работе ветрогенератора лопасти могут развивать скорость, превышающую 100 и 200 км/ч. Маленький болтик или кусочек металла может убить взрослого мужчину при прямом попадании.

Электрогенератор установки издает звук на сверхнизкой частоте, также называемый «инфразвук». Он пагубно влияет на здоровье человека и может сильно сказаться на самочувствии живущих по близости людей. Необходимо устанавливать ветрогенераторы на расстоянии более 5 их высот от жилых построек.

ВСУ Бирюкова
В 60-х в СССР Е. С. Бирюков запатентовал карусельную ВСУ с КИЭВ 46%. Немного позже В. Блинов добился от конструкции на том же принципе КИЭВ 58%, но данных о ее испытаниях нет. А натурные испытания ВСУ Бирюкова были проведены сотрудниками журнала «Изобретатель и рационализатор». Двухэтажный ротор диаметром 0,75 м и высотой 2 м при свежем ветре раскручивал на полную мощность асинхронный генератор 1,2 кВт и выдерживал без поломки 30 м/с. Чертежи ВСУ Бирюкова приведены на рис.
Позиции:
- ротор из кровельной оцинковки;
- самоустанавливающийся двухрядный шариковый подшипник;
- ванты – 5 мм стальной трос;
- ось-древко – стальная труба с толщиной стенок 1,5-2,5 мм;
- рычаги аэродинамического регулятора оборотов;
- лопасти регулятора оборотов – 3-4 мм фанера или листовой пластик;
- тяги регулятора оборотов;
- груз регулятора оборотов, его вес определяет частоту вращения;
- ведущий шкив – велосипедное колесо без шины с камерой;
- подпятник – упорно-опорный подшипник;
- ведомый шкив – штатный шкив генератора;
- генератор.
Бирюков на свою ВСУ получил сразу несколько авторских свидетельств
Во-первых, обратите внимание на разрез ротора. При разгоне он работает подобно ВС, создавая большой стартовый момент
По мере раскрутки во внешних карманах лопастей создается вихревая подушка
С точки зрения ветра, лопасти становятся профилированными, и ротор превращается в быстроходный ортогонал, причем виртуальный профиль меняется соответственно силе ветра
По мере раскрутки во внешних карманах лопастей создается вихревая подушка. С точки зрения ветра, лопасти становятся профилированными, и ротор превращается в быстроходный ортогонал, причем виртуальный профиль меняется соответственно силе ветра.
Во-вторых, профилированный канал между лопастями в рабочем диапазоне скоростей работает как центральное тело. Если же ветер усиливается, то в нем также создается вихревая подушка, выходящая за пределы ротора. Возникает такой же вихревой кокон, как вокруг ВСУ с направляющим аппаратом. Энергия на его создание берется от ветра, и тому на поломку ветряка ее уже не хватает.
В-третьих, регулятор оборотов предназначен прежде всего для турбины. Он держит ее обороты оптимальными с точки зрения КИЭВ. А оптимум частоты вращения генератора обеспечивается выбором передаточного отношения механики.
Ветрогенераторы и контроллеры заряда АКБ
Если механический ветряк вполне возможно сделать самостоятельно, можно ли сделать своими руками ещё и контроллер ветряка?
Чтобы иметь какое-то представление о контроллерах ветрогенераторов и успешно воспроизводить такую технику своими руками, не лишними будут базовые сведения об этих приборах.
Галерея изображений
Фото из
Ветряки – генерирующие ток установки, предоставляющие возможность получать энергию в удаленных от инфраструктуры местах: горных турбазах, неэлектрифицированных поселках, временных стоянках
Различающиеся по конструктивным решениям установки вырабатывают энергию, используя неисчерпаемый потенциал движения атмосферных масс
К сожалению, поставщики “зеленой” энергии пока не вырабатывают объема энергии, достаточного для покрытия всех потребностей жителей дома. Потому они используются как дополнительные источники как в комплексе, так и отдельно
Для питания рядя бытовых приборов ветряк можно подключать непосредственно к потребителям. Однако это решение нерационально, т.к. силу ветра нельзя контролировать. Чтобы стабилизировать поставки тока нужен контроллер
Если для покрытия энергозатрат дома устанавливается комплекс “зеленых” систем, применяется общий набор оборудования, включая контроллер, обслуживающий и солнечный панели, и ветряк
Работа контроллера в комплексе оборудования заключается в балластном регулировании величины заряда. Он ограничивает напряжение при его превышении и переключает систему на АБК в случае падения
Контроллер предотвращает закипание аккумуляторов, защищает оборудование от перегрева и преждевременного выхода из строя
Для того чтобы контролировать работу автономной электростанции и следить за состоянием оборудования, в схему рекомендовано включить ваттметр
Получение электроэнергии в туристическом комплексе
Ветрогенератор с вертикальными лопастями
Комплекс из ветряков и солнечных панелей
Модель контроллера для стандартного ветряка
Оборудование автономной электростанции
Приборы для обслуживания “зеленых” электростанций
Аккумуляторы для накапливания получаемой энергии
Ваттметр для мониторинга работы электростанции
Контроллер, обслуживающий аккумуляторные батареи, призван в первую очередь управлять процессом заряда АКБ. Это его основная функция, но ее условно следует разделить ещё на целый ряд подфункций.
Например, одним функционалом отслеживается ток заряда и ток саморазряда. Другой функционал реализует действия, направленные на измерение температуры и давления. Третий отвечает за компенсацию разницы энергетических потоков, когда одновременно с потреблением тока нагрузкой осуществляется заряд АКБ.
Контроллер заряда аккумуляторной батареи для ветрогенератора небольшой мощности. Контроль некоторых параметров системы осуществляется через встроенный в конструкцию жк-дисплей
Приборы промышленного изготовления наделены полноценным функционалом. А вот относительно любительских конструкций такого не скажешь. Устройства, выполненные на базе простейших схемных решений в домашних условиях своими руками – это контроллеры, далёкие от совершенных моделей.
Тем не менее, они работают и достаточно продуктивно позволяют эксплуатировать разные виды ветрогенераторов. Как правило, в самодельных конструкциях реализована лишь одна функция – защита от перенапряжения и от глубокой разрядки.

Одна из многочисленных вариаций контроллеров для ветряков, изготовленных своими руками. Такие конструкции отличаются незамысловатыми техническими решениями и простейшим исполнением монтажа
Почему внедрение контроллера в систему ветряка является обязательным моментом?
Потому что в режиме энергетической подпитки АКБ без применения контроллера следует ожидать неприятных последствий:
- Деградацию структуры аккумулятора по причине неконтролируемых химических процессов.
- Неконтролируемый рост давления и температуры электролита.
- Утрату аккумулятором свойств подзарядки в связи с имеющим место долговременным разрядом.
Контроллер заряда для схемы ветрогенераторной установки выполняется, как правило, в виде отдельного электронного модуля. Этот модуль съёмный и быстро отключаемый. Приборы промышленного изготовления обязательно оснащаются индикацией режимов и состояний – световой или визуально передаваемой через дисплей.
На практике могут применяться два вида устройств – встраиваемые непосредственно в корпус ветрогенератора и подключаемые к аккумуляторной батарее.
Дополнительное электрооборудование
Как уже было сказано выше, неотъемлемой частью ветряной электростанции является аккумулятор, берущий на себя питание потребителей. при его выборе нужно помнить, что чем больше его емкость, тем дольше он сможет поддерживать напряжение в сети, но при этом и дольше будет заряжаться. Приблизительное время работы можно определить как то время, за которое исчерпается половина емкости аккумулятора (после этого падение напряжения станет уже ощутимым, кроме того, глубокий разряд снижает ресурс свинцово-кислотных батарей).
Пример: Так, аккумулятор емкостью 65 А*ч условно сможет отдавать в нагрузку 30-35 ампер-часов энергии. Много это или мало? Обычная лампа освещения мощностью 60 ватт потребует, с учетом наличия инвертора, преобразующего 12 В постоянного тока в 220 В переменного и имеющего собственный КПД в пределах 70%, тока в 7 ампер — это чуть больше четырех часов работы. Восстанавливать же растраченную энергию наш ветряк с условной мощностью 90 ватт даже в лучшем случае, при постоянном сильном ветре, будет не менее пяти часов. Как вы видите, при использовании ветрогенератора исключительно как автономного источника энергии электричество в вашем доме будет доступным лишь на несколько часов в день.
Вторым узлом системы электроснабжения становится инвертор. В нашем случае можно использовать как готовый автомобильный, так и извлеченный из источника бесперебойного питания
В любом случае важно не перегружать его потреблением тока, учитывая, что реальная эксплуатационная мощность его в 1,2-1,5 раза меньше указываемой максимальной мощности
Как вы можете видеть, привлекательность использования даровой энергии упирается во многочисленные ограничения, и даже единственный эффективный в средней полосе России вариант — ветрогенератор — неспособен обеспечивать длительную автономность.
Но вместе с тем эта идея неплоха и как источник аварийного электропитания и, особенно, как конструкторская задача — удовольствие от создания своими руками ветрогенераторной установки может в разы превосходить ее мощность.
Типовая конструкция
Все конструкции ветряков для выработки электроэнергии, собранные своими руками, строятся по единому принципу. Обязательно наличие:
Мачта. Представляет собой длинный шест с креплением на крыше или земле.
Основной элемент-генератор, который продуцирует электричество для нужд хозяйства. Используют готовый мотор, купленный в отделе запчастей, снятый со старого автомобиля, собранный собственноручно.
Последний тип представляет интерес только для истинных любителей самоделок, так как разборка, сборка, перемотка занимают много времени, а в результате есть вероятность неисправности. Но в чем прелесть домашних поделок – возможность новых изобретений и альтернативных конструкций.
Стабилизатор напряжения. Регулирует мощность потока при перепадах.
Аккумулятор. Необходим для накопления, хранения и перераспределения электроэнергии. Даже в отсутствие ветра батарея обеспечивает бесперебойную подачу из запасов до полного истощения.
Вращающийся пропеллер. Различают модификации, насаживаемые на генератор и соединенные при помощи систем передач.




























