Содержание
- 1 Советы специалистов
- 2 Что такое канализационный аэратор и для чего он нужен
- 3 Плюсы и минусы
- 4 Что такое воздушный клапан
- 5 Обратный клапан для фановой трубы 110 и 50 мм
- 6 Когда забыл о фановой трубе — ставим ваккумный (фановый) клапан
- 7 Строение и назначение запорных клапанов
- 8 Какой клапан приобрести?
- 9 Виды обратных клапанов и принцип их работы
- 10 Защита от аварий на канализационных сетях
- 11 Вывод вентиляционной фановой трубы
Советы специалистов
Вариант установки клапана Для водопроводной сети лучше подбирать клапаны из латуни либо нержавеющей стали, поскольку они не боятся ржавчины и имеют долгий эксплуатационный срок.
Также необходимо учесть:
- Месторасположение прибора в трубопроводах канализации без трапа выбирают на участке над самой высокой водоотводящей точкой – не ниже чем в 350 мм от пола.
- В домах с независимым отоплением клапан стоит ставить на возвратную линию перед подключением к отопительной установке.
- В многоэтажках, где монтируют раздельную водоподающую сеть, клапаны монтируют после водосчетчика.
Установка обратного межфланцевого клапана проводится после того, как фланцы на трубопровод смонтированы посредством сварки
Крайне важно соблюдение соосности труб в точке монтажа прибора, поскольку перекос нарушит герметичность соединения
Что такое канализационный аэратор и для чего он нужен
Воздушный клапан для канализации – небольшое пластиковое устройство с отверстием в корпусе для подачи воздуха. Внутри него находятся канал для прохождения воздуха и заслонка, которая срабатывает под действием мембраны или штока.
В обязанности канализационного аэратора входит:
- запирание неприятного запаха в трубах;
- стабилизация внутреннего и внешнего давления в трубопроводе.
Принцип работы
Как уже было сказано выше, работа этого устройства заключается в блокировке канализационных газов и компенсации давления в трубах. Замком для неприятного запаха обычно служит сифон, но не всегда успешно.
Видео: Для чего нужен канализационный вакуумный клапан
Все дело в том, при поступлении большого количества сливаемой жидкости, так называемый залповый сброс, в системе образуется большое давление. Когда же вода доходит до центрального стояка и устремляется в , в трубах образуется вакуум, который приводит к срыву гидрозатворов. После чего запах свободно проникает в помещение. Чтобы этого не происходило, стояк оборудуется вентиляционной трубой и выводится на крышу.
Однако этот способ имеет несколько недостатков. Во первых он может просто напросто забиться, а во вторых при его монтаже может быть нарушена целостность кровли. Или как это часто происходит, особенно в старых домах с уже действующей канализацией, вообще отсутствует.
Как только в трубе создалось разряжение, в аэраторе срабатывает мембрана и открывается отверстие. Через это отверстие в систему поступает недостающий воздух и давление стабилизируется. После того, как вода ушла, а канализация наполнилась воздухом и давление выравнялось, клапан закрывается и запахи не имеют возможности попасть внутрь помещения.
Плюсы и минусы
Прежде чем решиться на установку вакуумного клапана на канализацию, стоит узнать о преимуществах этого устройства и оценить его недостатки. Начнем с плюсов:
основным преимуществом установки аэратора перед монтажом фановой трубы является то, что не требуется проделывать отверстие в кровле. А это позволяет существенно снизить риск возникновений протечек крыши;
- еще одним положительным моментом является то, что наличие дополнительной трубы не будет портить внешний вид здания;
- не стоит недооценивать и экономический аспект. Установка вакуумного клапана обойдется существенно дешевле, чем монтаж фановой трубы;
- еще один плюс – возможность установить деталь самостоятельно, так как монтажные работы достаточно просты.
К минусам следует отнести тот факт, что устройство придется периодически осматривать и проводить очистку и ремонт.
Что такое воздушный клапан
Вакуумный клапан на канализацию — это сантехническое устройство, которое устанавливается в невентилируемый канализационный стояк. Внешне простейший вентклапан представляет собой компактный полипропиленовый корпус с выступающими элементами (есть и другие, более сложные конструкции в пластиковых или металлических корпусах).
Являясь по роду деятельности аналогом фановой трубы, вакуумный клапан для канализации позволяет стабилизировать давление в трубопроводе без сложных и трудоемких инженерных работ. Он защищает сифон сантехнических приборов от срыва гидравлического затвора при возникновении отрицательного давления с величиной свыше 5 мм.рт.ст. При повышении давления до нормального или повышенного значения, клапан производит отсечку системы от внешней атмосферы, действуя как заглушка и предотвращая возможность утечки биогаза.
Воздушный клапан
Вентиляционный клапан для канализации — простое и надежное устройство, не нуждающееся в специализированном обслуживании или регламентных работах по мере износа оно просто заменяется новым экземпляром, поскольку стоимость подобных устройств невысока. Существуют унифицированные образцы, соответствующие номенклатурным размерам канализационных трубопроводов. Они приобретаются и устанавливаются в соответствующие отверстия по мере необходимости.
Обратный клапан для фановой трубы 110 и 50 мм
Для обеспечения течения жидкости лишь в одну сторону необходимо использовать специальный прибор. Он называется обратным клапаном. Наиболее популярными вариантами изделия являются устройства размером 110, и 50 мм.
Данные приборы монтируют на стыках каналов или врезают посредством резьбовых соединений. Для перекрытия тока жидкости в устройстве может использовать элемент под названием «тарелка». Он крепится внутри детали.
Под воздействием сильного показателя давления в нужном направлении данный компонент открывается. При начале движения жидкости в другом направлении элемент еще сильно прижимается, блокируя ток.
Большой популярностью пользуются шаровые модели. Они функционируют по похожему принципу. Вместо элемента, называемого «тарелкой», в них применяют специальный шар. Такие устройства отличаются большим показателем надежности.
Есть возможность выбрать фланцевые и муфтовые виды приборов. Каждый вариант имеет свои особенности. Фланцевые модели используют трубопроводов, расположенных вертикально и горизонтально. В то время, как муфтовые используют исключительно для вертикальных магистралей. Их применяют для труб диаметром два с половиной дюйма. Фланцевые аналоги можно использовать для каналов размером сечения от сорока до шестисот миллиметров.
Размеры деталей связаны с показателем сечения труб канализации. Для унитазов подходят изделия с диаметром 110мм. На внутреннюю систему канализации ставят приборы размером 50 мм.
Для производства данных устройств применяют различные материалы.
Приборы производятся из:
- чугуна;
- пластика;
- стали.
Нужно выбирать клапан исходя из материала изготовления канализационных каналов. Если трубы пластиковые, то и прибор также должен быть сделан из полимеров.
Установку детали выполняют различными методами. Варианты приборов со значительным показателем пропускной способности применяют для монтажа на общей магистрали. Данные модели хорошо подходят для оснащения частных домов. Они не годятся для установки в квартире.
Когда забыл о фановой трубе — ставим ваккумный (фановый) клапан
В каких случаях установка вакуумного клапана канализации бывает необходима? Она требуется тогда, когда в доме во время его строительства не был проведен монтаж вентиляции канализационного стока, а также, если канализационный стояк никак нельзя вывести на крышу.
Какое предназначение в этом случае выполняет вакуумный клапан? Рассмотрим его принцип работы. Поскольку трубы, подведенные к унитазам в многоквартирном доме, соединяются в общую канализационную систему, там же скапливаются газы. Учитывая, что в центральную канализацию попадает много горячей воды после мытья посуды или купания, пары от неё нагреваются и, согласно законам физики, устремляются вверх.
В квартирах решением проблемы попадания запахов в помещение является закручивание заглушки на стояке и установка гидрозатвора. Однако (если на стояке отсутствует вентиляция) сильный водяной поток после смывания унитаза способен создать в трубопроводе разрежение. В свою очередь, это разрежение полностью высасывает содержимое гидрозатвора, находящегося поблизости. Вследствие этого в скором времени в помещении появляется неприятный запах.
Вакуумный клапан вполне способен подойти вместо вытяжной трубы, которой обычно заканчиваются многие канализационные стояки. Такая труба, как правило, нужна для того, чтобы через неё выходили неприятные запахи из системы, а назад в канализационный трубопровод поступал свежий и чистый воздух.
Почему покупка и установка клапана – это правильное решение? Ведь, как кажется, можно взять и сделать всё так, как это делалось десятки лет. Если разобраться, в старых системах есть серьезные недостатки. Поскольку через крышу выводится труба, отверстие, сделанное для неё, необходимо тщательно и качественно заделать, иначе через него будет протекать вода. При этом, как его не закрывай, рано или поздно там все равно появится течь, поэтому работы по замене там покрытия необходимо будет выполнять очень часто.
Также есть возможность, что наружный стояк в зимний период замерзнет. Если это случится, то воздух не сможет нормально подниматься по трубе и выходить наружу, следовательно, эффективность системы сильно понизится. Кроме этого, в трубах в зимнее время часто любят прятаться птицы. Если она там застрянет и погибнет, то придется прочищать и ремонтировать стояк. А если таких стояков много, значит, количество труб на крыше порядком увеличится, а вместе с ними увеличится и количество вышеперечисленных проблем.
Если давление в канализационной системе в норме, клапан будет в закрытом положении. Тогда он сможет воспрепятствовать попаданию неприятных запахов в жилые комнаты и прочие помещения. В тех же случаях, когда в трубе возникает разрежение после смывания унитаза (унитазов), в клапане срабатывает его внутреннее устройство, благодаря чему он впускает воздух в систему для стабилизации давления.
Вакуумные клапаны можно применять для локальной аэрации. В таких ситуациях он монтируется на трубы сантехнических приборов, которые будут расходовать много воды.
Есть определенные правила, как правильно устанавливать клапан, чтобы его качественной работе ничто не мешало:
- Клапан следует устанавливать выше, чем расположена точка стыка прибора на канализационном стояке.
- Монтаж клапана производится в помещениях, где устроена надлежащая вентиляция (это может быть чердак дома, санузлы, обеспеченные вентиляцией ещё при строительстве и т.д.).
- Вакуумный клапан можно ставить лишь на те трубы, которые закреплены в вертикальном положении, так как в горизонтальной позиции воздух не будет так хорошо выходить.
К преимуществам вакуумных клапанов можно отнести то, что при их монтаже вовсе не нужно пробивать отверстие в кровле для устройства трубы. Весь процесс занимает крайне мало времени и является довольно простым. Сюда же можно отнести ещё несколько факторов:
- На крыше не появляется одной-двух лишних труб, которые обычно лишь портят вид дома. Это связано с тем, что вакуумный клапан устанавливается под крышей, следовательно, там же и заканчивается вся система вентиляции.
- Фановый стояк не нуждается в периодическом обслуживании и плановом ремонте.
Есть и незначительные недостатки. К сожалению, вакуумный клапан способен выдержать лишь малые нагрузки, которые может дать канализация. Да и цена такого клапана приличная, учитывая, что он собирается вручную.
Кондиционеры для бани.
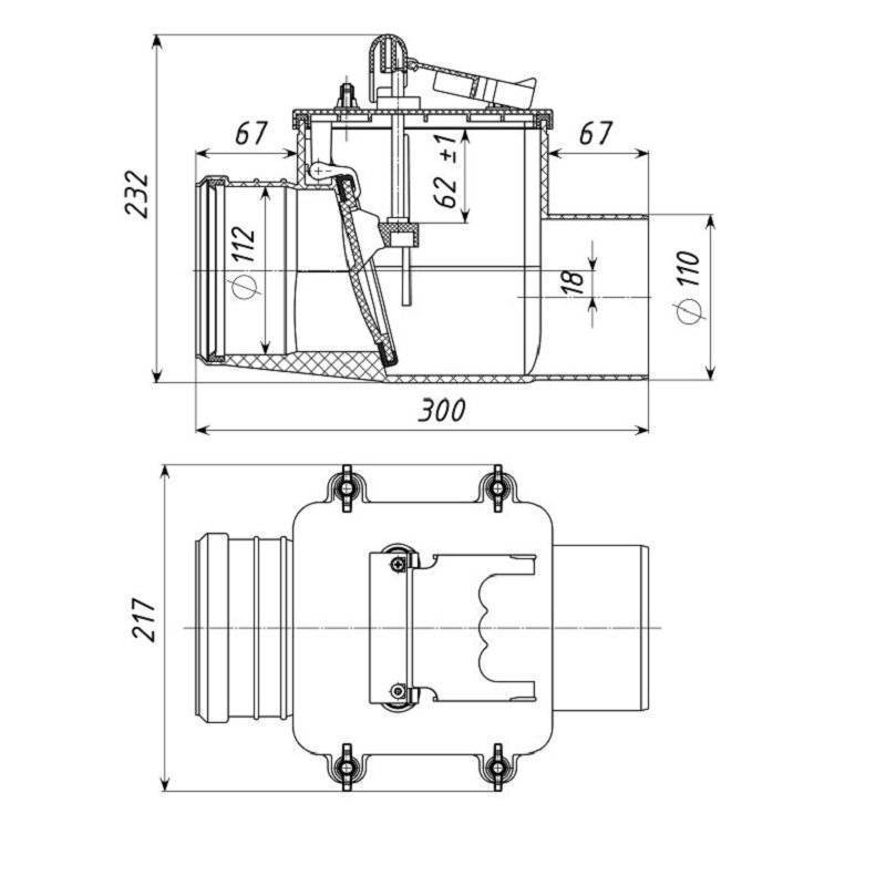
Строение и назначение запорных клапанов
Чтобы обезопасить свой дом от канализационного потопа и не закрывать всю ночь отверстия в раковине, ванне и унитазе полотенцами, халатами, покрывалами и всем, что под руку попадет, ставят специальные запорные устройства. Иногда даже один полиэтиленовый пакет, случайно смытый в унитаз, способен вызвать катастрофические последствия.
Что такое обратный клапан?
Для защиты от течения стоков в обратном направлении используются специальные устройства, которые срабатывают в нужный момент и преграждают путь отработанной воде. Это запорный клапан, применяемый для канализации в частных домах, квартирах, офисных помещениях, на производстве. Также запорные устройства ставят в системах отопления и водоснабжения.
Обратные клапаны умеют в нужный момент закрыть отверстие в канализационной трубе. А все стоки, начавшие свое движение в противоположном направлении, будут вынуждены искать другой путь.
Такая ситуация может произойти в многоэтажном многоквартирном доме, где обычно общий стояк у жильцов, квартиры которых находятся друг под другом. Тогда извержение канализации можно увидеть даже на 2-м этаже, если жильцы 1-го позаботились об установке запорного канализационного клапана.
Если клапан стоит и на 2-м этаже, то до 3-го столб канализационных стоков вряд ли дойдет – под давлением, оказываемым им, продавится засор и все уплывет туда, куда и должно – в общедомовую канализационную трубу.
Устройство и особенности работы
Запорные клапаны для канализации могут быть самой разной формы, размера. Они изготавливаются из различных материалов и имеют разные рабочие детали. Но все они действуют одинаково – преграждают путь стокам, резко изменившим направление своего движения.
К обратному клапану может подключаться несколько канализационных веток. Вне зависимости от модели запорного устройства нужно выбирать место установки, максимально удобное для проведения проверки и прочистки в будущем
В общем, клапан состоит из таких частей:
- входной и выходной патрубки;
- рычаг для принудительного вывода стоков;
- мембрана/рабочий орган для перекрытия всего сечения трубопровода;
- крышка для проведения ревизии и прочистки.
Рабочий механизм зависит от модели – это может быть резиновый шарик, заслонка или другое приспособление, которое полностью перекрывает трубу.
Если стоки идут в правильном направлении, то их движению ничего не препятствует. Стоит им изменить направление, как рабочий механизм закроет все сечение трубы
Нужен ли он в принципе?
Запорные устройства обязательны к установке не во всех ситуациях. В некоторых случаях без этих приспособлений можно обойтись.
Например, семья, проживающая в квартире на 5-м этаже, может не волноваться о затоплении ванной комнаты канализационными стоками через засор стояка.
При установке обратного клапана нужно следить за направлением красной стрелки – она указывает правильное направление стоков
Обратный клапан нужен, если:
- квартира находится на 1-м или 2-м этаже многоэтажки;
- в частном одноэтажном доме/даче;
- в 2-х или 3-х этажном коттедже;
- в офисных помещениях на 1-2-м этажах, особенно если в здании старые трубы.
Именно для таких категорий помещений дешевле будет установить запорное устройство, чем потом бороться с последствиями.
У клапана сверху есть рычаг для принудительного перекрытия канализационной трубы
Какой клапан приобрести?
Вопрос непростой в том плане, что каких-то явных «фаворитов» или «раскрученных» моделей нет. Но вместе с этим – налицо весьма серьезный разброс цен. И плюс ко всему – нет каких-то четких критериев выбора, кроме, пожалуй, диаметра трубы, на которую монтируется клапан, габаритов, если место для его установки ограничено, и наиболее удобного способа соединения с трубой.
Конечно, следует полагать, что более известные производители сантехнических изделий и клапан предложат максимально долговечный и надежный. Но можно встретить массу примеров, когда самые незамысловатые и недорогие аэраторы отечественного производства служат десятками лет и продолжают служить.
Поэтому – просто краткий обзор предлагаемых в продаже моделей и цен на них, но без каких-то рекомендаций в пользу того или иного изделия.
Наверное, этого уже достаточно, чтобы понять, насколько «пляшут» цены на подобные изделия. Причем, при примерно равных характеристиках, материале изготовления и т.п. Так что автор этой статьи никак не берет на себя ответственность рекомендовать те или иные модели – все слишком уж неочевидно.
Могут, правда, задать вопрос – а почему на некоторых аэраторах DN110 одна общая головка, а на других две маленьких?
Никакого особого секрета здесь нет. Просто производитель выпускает модели для труб и 50 мм, и 110 мм. И ему технологически проще объединить две меньшие клапанные головки в одном корпусе, чтобы получить аэратор для большего диаметра. А на работе самого прибора это особо не сказывается. Разве что ухаживать приходится за двумя мембранами. Но зато при выходе из строя одной – она и дешевле обойдётся при замене, чем одна большая.
Виды обратных клапанов и принцип их работы
Основная задача обратного (запорного) клапана — заблокировать поток, идущий в обратном направлении. Для этого в этих механических устройствах ставят подвижную преграду. Основной принцип работы — в спокойном состоянии механическая заслонка опущена вниз, перекрывая просвет канализационной трубы и не давая возможности пройти обратному потоку. При появлении стоков она поднимается (отодвигается в сторону), стоки уходят, и она снова закрывается. По виду этой преграды и принципу ее работы и отличается это оборудование.
Поворотные (лепестковые)
В канализационных клапанах этого типа установлена подпружиненная круглая мембрана (тарелка). Если поток движется в «правильном» направлении, она поворачивается, поднимаясь вверх не мешает уходить стокам. Если движение начинается в другую сторону, мембрана (тарелка) прижимается к ободку внутри клапана, плотно и герметично перекрывая просвет трубы. В некоторых моделях имеется ручной затвор. Это вторая мембрана, которой управлять можно при помощи кнопки, установленной на корпусе.
Из-за формы мембраны такие запорные клапана называют еще лепестковыми, а иногда можно услышать термин «захлопки» — это из-за способа работы — мембрана захлопывается, если нет стока.

На рисунке показано, как работает обратный клапан на канализацию
Само устройство имеет большие размеры, чем труба, на которую его устанавливают. Так что в трубопроводе идет сначала расширение, а затем сужение просвета, а это — потенциальные места образования засоров. Чтобы была возможность оперативно устранять засоры, в верхней части корпуса обратного клапана делают съемную крышку. Сняв ее проблему можно быстро устранить.
Подъемный обратный клапан на канализацию
Этот вид запорного устройства на канализационную трубу назван так потому что при прохождении стоков в «правильном» направлении запорный элемент поднимается вверх. Стоки давят на перекрывающую проход тарелку, сжимая пружину та поднимается. Стоков нет — пружина разжимается, проход запирается. При поступлении стоков » с неправильной» стороны никакой возможности открыть проход нет. Это достигнуто нелинейной формой корпуса.
Защита от аварий на канализационных сетях
При возникновении засора в канализационных сетях жители обращаются в аварийно-диспетчерские службы. Но пока их сотрудники прибудут на место аварии и сумеют перекрыть подачу воды, аварийная квартира нередко оказывается затопленной, а имущество жильцов – испорчено. Для исправления ситуации и устранения запаха в квартире придется делать серьезный ремонт, что, естественно, потребует серьезных финансовых вливаний.
Решить проблему поможет установка обратного клапана на канализацию. Как работает обратный клапан? Максимально просто. Принцип работы обратного клапана заключается в том, что он пропускает стоки только в прямом направлении, не позволяя им двигать в обратном.
Где можно установить обратный клапан?
Существует два варианта решения проблемы:
- Воспользоваться одним клапаном, имеющим большую пропускную способность, установив его на общую канализационную трубу.
- Установить отдельные клапаны на каждый сантехнический прибор.
Установка общего клапана возможна только для небольшого дома, обратный клапан для канализации 110 мм или 150 мм решит все проблемы, а вот для многоквартирных домов такой вариант невозможен.
В этом случае лучше предусмотреть установку клапана на канализационную трубу для каждого предмета сантехники. То есть, нужно установить обратный клапан для канализации 50 мм, 40 мм или 32 мм.
Клапаны отличают не только размеры, в продаже можно найти две разновидности клапанов для канализации:
Обычный, предназначенный для предотвращения обратного тока воды. Клапан для унитазов или фановых труб. Это устройство монтируется непосредственно в трубы
Важно, чтобы они присутствовали в системе, где отмечается контруклон труб, который крайне сложно устранить, полностью не переделывая систему. Разберемся, какой клапан стоит поставить в квартире, а какой рекомендуется устанавливать в частном доме
Разберемся, какой клапан стоит поставить в квартире, а какой рекомендуется устанавливать в частном доме.
Принцип действия клапанов
Нужно заметить, что устройство обратного клапана для канализации зависит от его типа. Так, для напорной канализации нужен шаровый обратный клапан, который используется для того, чтобы не допустить перетекания жидкости в обратном направлении. Он имеет два патрубка – приемный и выпускающий.
Устроен обратный клапан для напорной канализации просто. В камере клапана располагается шарик, наполненный воздухом, который при возникновении обратного тока воды создает давление на мембрану. Эта мембрана полностью перекрывает камеру, и жидкость попасть в трубу не может.
Чтобы клапан для напорной канализации служил надежнее, его нужно регулярно чистить. Для этого производители предусмотрели наличие съемной крышки. Помимо этого, это устройство, как правило, имеет запорный вентиль, который позволяет перекрыть трубопровод в случае необходимости. Устанавливаются такие клапаны в месте, где соединяются две трубы. Монтаж можно вести и в вертикальный стояк, и в горизонтально расположенной трубе.
Правила установки
Запорный клапан в трубу может быть установлен во время сборки трубопровода в месте соединения труб, допускается монтаж и в действующей сети. Клапан должен иметь тот же диаметр, что и диаметр установленной трубы, если это невозможно, то монтаж ведется с использованием переходника.
Вот несколько рекомендаций по установке клапана:
- На каждой модели имеется стрелочка, которая указывает направление тока жидкости. Установка должна быть произведена строго по направлению, указанному стрелкой.
- При монтаже стрелка должна быть направлена к канализационному коллектору, только при соблюдении этого условия он будет правильно работать. То есть стрелка должна указывать нормальное движение жидкости от сантехнического прибора до стояка.
- Перед установкой стоит провести его испытания на герметичность, такой несложный тест позволит избежать проблем в дальнейшем.
В случае уменьшения уровня герметичности блокирующей мембраны при работе будет возникать вибрация и шум. Для устранения поломки нужно будет снять съемную крышку, вытащить затвор и заменить его. Можно не менять затвор полностью, а установить в него новую герметичную окантовку, которая достаточно легко снимается.
Вывод вентиляционной фановой трубы
Вентиляционная система необходима для нормального функционирования канализации, которая осуществляет транспортировку сточных вод во внешние трубы.
Чтобы осуществить правильный монтаж фановой трубы и вентиляции, нужно помнить несколько важных правил:
- Категорически возбраняется совмещение вывода стояка с вентиляцией или дымоходом.
- Выход трубы располагается над крышей и устанавливается на высоте 4 м на безопасном расстоянии от окон балконов и т. д.
- Одна такая конструкция может объединять в себе несколько стояков. В таком виде соединения используют прямые колена и прямые тройники или же косые колена с тройниками на 45 градусов.
Стояк, отведённый на крышу, является самодостаточным устройством и не нуждается в монтировке дополнительных устройств, которые осуществляют вытяжку (например, дефлектор). Помимо этого, монтаж дополнительных приспособлений может навредить функционированию системы в целом, нарушив устоявшиеся показатели тяги и давления.
Фановая труба, выведенная на крышу, должна располагаться на удалении от окон и балконов






























